EasyManua.ls Logo

WPT POWER PILOTLESS - Page 31

WPT POWER PILOTLESS
39 pages
Print Icon
To Next Page IconTo Next Page
To Next Page IconTo Next Page
To Previous Page IconTo Previous Page
To Previous Page IconTo Previous Page
Loading...
Page 31 of 39 WIM-TD-002_C
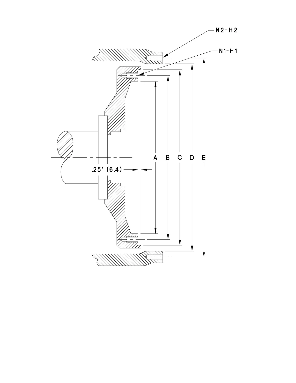
Figure 11
SAE Flywheel and Housing Drawing