EasyManua.ls Logo

Yamaha 3FA-AE2 - SIGNAL SYSTEM TROUBLESHOOTING; Horn Functionality Test; Horn Voltage Measurement

Yamaha 3FA-AE2
41 pages
Print Icon
To Next Page IconTo Next Page
To Next Page IconTo Next Page
To Previous Page IconTo Previous Page
To Previous Page IconTo Previous Page
Loading...
30
+
ELEC
SIGNAL SYSTEM
CHECKING THE SIGNALING SYSTEM
1. The horn fails to sound. (for Europe)
YES
NO
YES
NO
YES
NO
1. Horn switch
Check the horn switch for continuity.
Refer to CHECKING THE SWITCH
(Manual No.: 3FA-AE1).
Is the horn switch OK?
Replace the horn
switch.
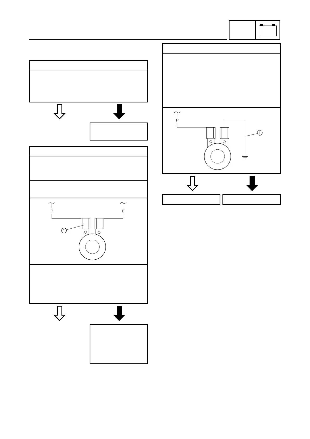
2. Voltage
Connect the pocket tester (DC 20 V) to the
horn connector at the horn terminal as
shown.
Positive tester probe
pink
1
Negative tester probe
ground
Set the main switch to ON.
Push the horn switch.
Measure the voltage (DC 12 V) of pink at
the horn terminal.
Is the voltage within specification?
The wiring circuit
from the main switch
to the horn connector
is faulty and must be
repaired.
3. Horn
Disconnect the black connector at the horn
terminal.
Connect a jumper lead 1 to the horn ter-
minal and ground the jumper lead.
Set the main switch to ON.
Push the horn switch.
Does the horn sound?
The horn is OK. Replace the horn.

Related product manuals