EasyManua.ls Logo

Yamaha 90A - Page 129

Yamaha 90A
204 pages
Print Icon
To Next Page IconTo Next Page
To Next Page IconTo Next Page
To Previous Page IconTo Previous Page
To Previous Page IconTo Previous Page
Loading...
7-4
E
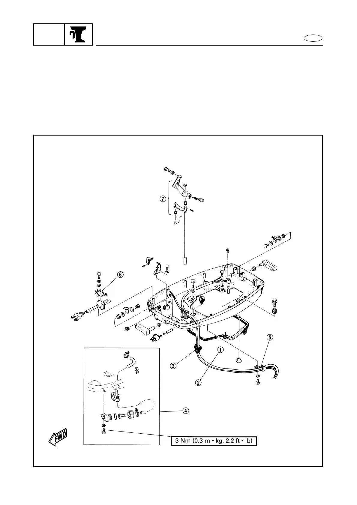
BRKT
BRACKET UNIT
K-15300-0
BOTTOM COWLING
1
Power trim and tilt motor lead (PTT model)
2
Trim sender lead (PTT model)
3
Grommet
4
Flushing kit (B90TR/90AETO)
5
Clamp (PTT model)
6
Bottom cowling fitting plate
7
Shift actuator

Table of Contents

Other manuals for Yamaha 90A

Related product manuals