EasyManua.ls Logo

Yamaha CDX-E410 - Page 25

Yamaha CDX-E410
32 pages
Print Icon
To Next Page IconTo Next Page
To Next Page IconTo Next Page
To Previous Page IconTo Previous Page
To Previous Page IconTo Previous Page
Loading...
CDX-E410
25
CDX-497/CDX-397
CDX-E410
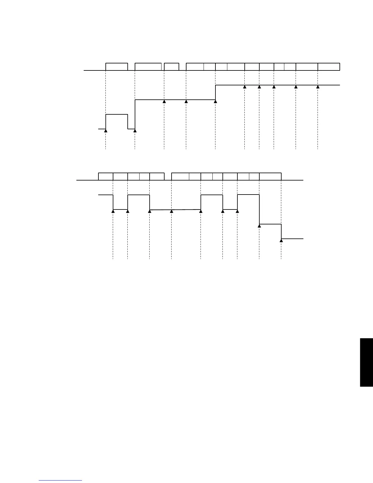
Example:
H
H x 2/3
H x 1/3
0
Reset start
Initialize
"STANDBY/ON"
Power on
"EJECT" Load
Loading Stop
"PAUSE"
Pause
"SKIP"
Skip
"SEARCH"
Search
key key key key key key key key
key key key key key key
Play
Play Play Play Play
H
H x 2/3
H x 1/3
0
"STOP"
Stop
"PLAY"
Play Eject
Eject
"EJECT"
Loading
Load
Stop
"PLAY"
"PLAY" "PLAY" "PLAY"
Seek Seek Play
"STANDBY/ON"
Standby
Process
Process
Standby process
complete
Contents
end
"PLAY"
Stop Seek
Seek
Play
Note: The details or some limitations regarding the change of player status need the extra discussion.

Related product manuals