EasyManua.ls Logo

Yamaha CRX-E100 - Page 37

Yamaha CRX-E100
45 pages
Print Icon
To Next Page IconTo Next Page
To Next Page IconTo Next Page
To Previous Page IconTo Previous Page
To Previous Page IconTo Previous Page
Loading...
RX-E100
RX-E100
Remarks
Remarks
Remarks
DIMMER level signal transmitted
about 1 second later
POWER SW OFF
[POFF_REQ]
[POFF_OK] [POFF_OK]
Secondary connection state
[STATE_ON]
POWER SW ON
RX CDX MDX KX
Secondary connection state
CDX MDX KX
or [STATE_OFF]
POWER SW ON
AC outlet ON
RX
[DIMM_*]
CDXRX MDX KX
[STATE_ON]
or [STATE_OFF]
[STATE_ON]
Secondary connection state Secondary connection state Secondary connection state
[STATE_ON]
or [STATE_OFF]
[STATE_ON]
Secondary connection state
[STATE_ON]
or [STATE_OFF]
Secondary connection state
[STATE_ON]
or [STATE_OFF]
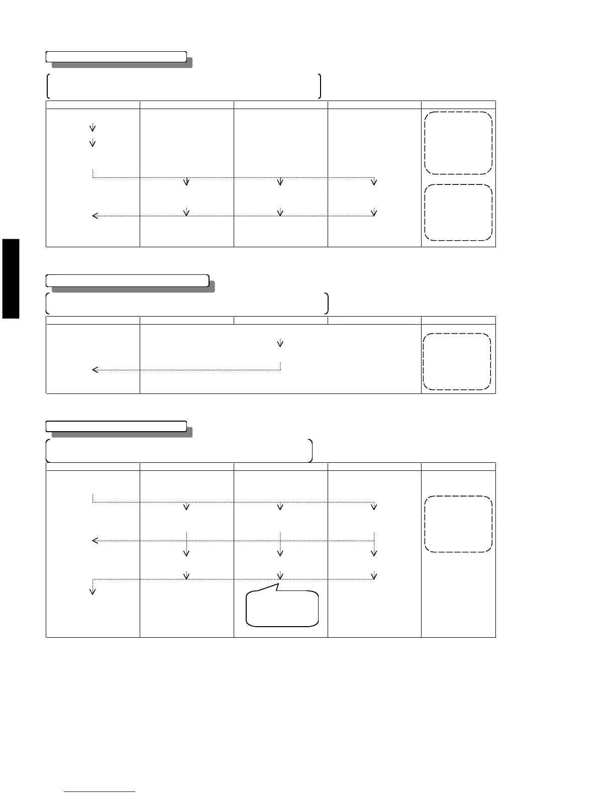
The relay turns off after
confirming [POFF_OK] of all the
units being connected.
After POWER OFFprocessing After POWER OFFprocessing
[POFF_OK]
After POWER OFFprocessing
or [STATE_OFF]
( 1 ) POWER ON PROCESSING ( Receiver )
(2)POWER ON PROCESSING (except receiver)
(3)POWER OFF PROCESSING (Receiver)
When the power is turned on at a unit other than the receiver, the unit informs the receiver of the
status then.
When the power is turned on at the receiver, the relay of the AC outlet is turned on to supply
power to each unit.
Each unit informs the receiver of its status when started (secondary connection status).
The receiver turns off the AC outlet when the power off processing of each unit has been
completed.
The receiver detects
the units being
connected when
informed of the
secondary
connection state.
The receiver detects
the units being
connected when
informed of the
secondary
connection state.
The receiver detects
the units being
connected when
informed of the
secondary
connection state.
MD transmits
[POFF_OK] after TOC
writing has been
completed.
The indicator of each
unit turns on when
[DIMM_*] is received
but 2 seconds later
when the unit is
used alone.
42

Related product manuals