EasyManua.ls Logo

Yamaha CRX-E100 - Page 38

Yamaha CRX-E100
45 pages
Print Icon
To Next Page IconTo Next Page
To Next Page IconTo Next Page
To Previous Page IconTo Previous Page
To Previous Page IconTo Previous Page
Loading...
RX-E100
RX-E100
Remarks
Remarks
Stop when FUNC CD Stop when FUNC MD Stop when FUNC TAPE
and in PLAY mode
Remarks
Stop when FUNC CD Stop when FUNC MD Stop when FUNC TAPE
[PLAY]
MDX
POWER OFF
KXRX CDX
Secondary connection state
After POWER OFF processing
RX CDX MDX
or
[FUNC_MD]
[FUNC_CD]
or [FUNC_TAPE]
or [FUNC_TU]
or [FUNC_AUX]
or [FUNC_MD]
When FUNC PLAY
or [FUNC_TAPE]
or [FUNC_TU]
or [FUNC_AUX]
[FUNC_CD]
[STOP]
RX CDX MDX
PLAY START
[PLAY]
FUNCTION selection
[STATE_OFF]
and in PLAY mode
KX
and in PLAY mede
KX
FUNCTION selection
[STOP] [STOP]
PLAY START PLAY START
[PLAY]
and in PLAY mode and in PLAY mode and in PLAY mode
[STOP] [STOP] [STOP]
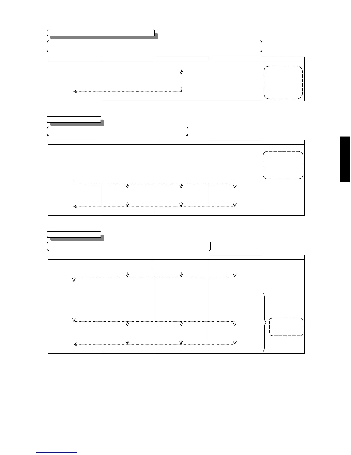
(4)POWER OFF processing (except receiver)
When the power is turned off at a unit other than the receiver, the unit informs the receiver of the status when the power off
processing has been completed.
(5)FUNCTION selection
When the RX function is selected, the unit in the PLAY mode will be stopped.
(6)AUTO FUNCTION
When each unit is set to the PLAY mode, the receiver selects the function to be suitable for that.
When MD or TAPE is
in RECORD mode, or
in EDIT mode, it is
prohibited to select
functions.
The receiver detects
the units being
connected when
informed of the
secondary
connection state.
Same function as
(5) FUNCTION
selection.
43

Related product manuals