EasyManua.ls Logo

Yamaha F30A - PTT Gear Pump

Yamaha F30A
285 pages
Print Icon
To Next Page IconTo Next Page
To Next Page IconTo Next Page
To Previous Page IconTo Previous Page
To Previous Page IconTo Previous Page
Loading...
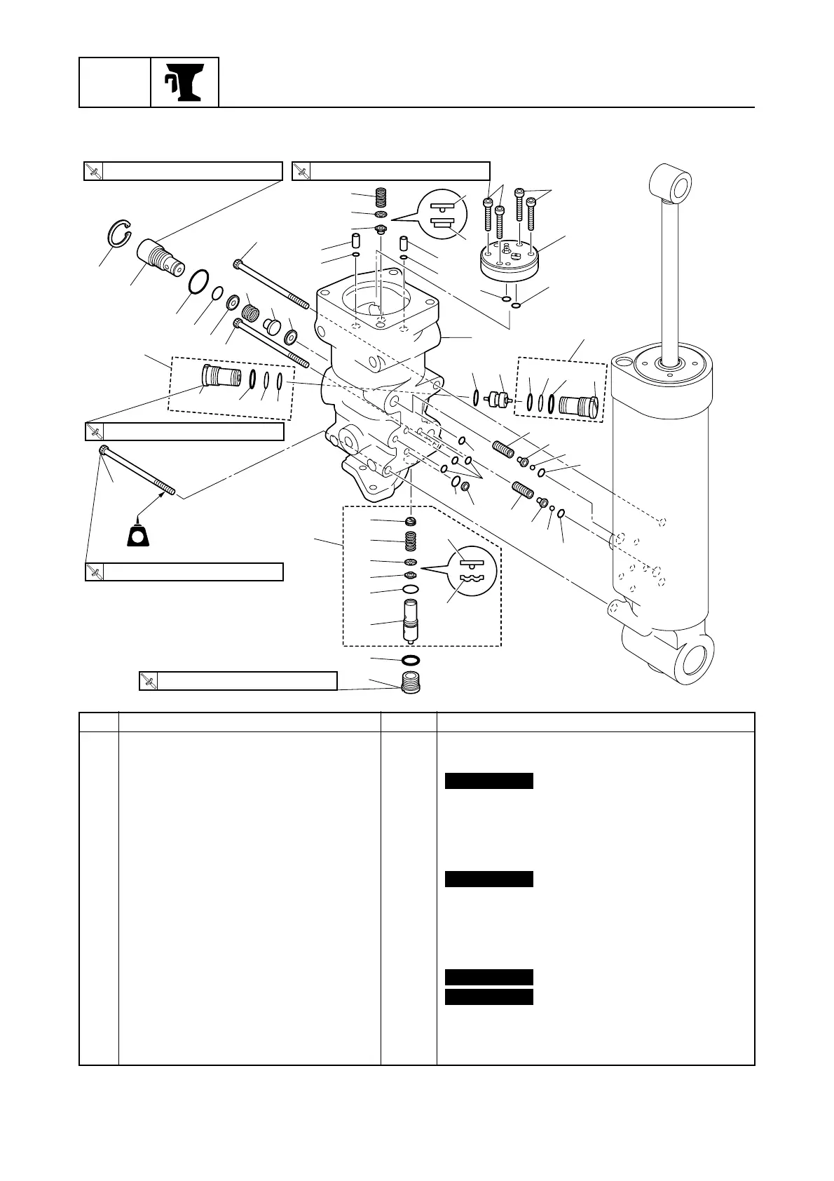
BRKT
Bracket unit
7-39 67C3K11
PTT gear pump
No.
Part name Qty Remarks
1Bolt 4 M4 × 25 mm
2 Gear pump assembly 1
3O-ring 2
Not reusable
4Spring 1
5 Valve pin 1
6 Main valve seal 1
7 Filter 2
8O-ring 2
Not reusable
9Bolt 3 M6 × 75 mm
10 Gear pump housing 1
11 Circlip 1
12 Manual valve 1
13 O-ring 1
Not reusable
14 O-ring 1
Not reusable
15 Manual valve seat 2
16 Spring 1
17 Adapter 1
S67C7076
20
33
1
1
9
35
36
34
9
19
18
20
21
22
35
36
38
39
40
37
32
LT
271
T
R
.
.
3 N
·
m (0.3 kgf
·
m, 2.2 ft
·
Ib)
T
R
.
.
6 N
·
m (0.6 kgf
·
m, 4.4 ft
·
Ib)
T
R
.
.
7 N
·
m (0.7 kgf
·
m, 5.2 ft
·
Ib)
T
R
.
.
9 N
·
m (0.9 kgf
·
m, 6.6 ft
·
Ib)
T
R
.
.
4 N
·
m (0.4 kgf
·
m, 3.0 ft
·
Ib)
11
12
13
14
15
16
17
15
9
4
2
3
3
7
8
7
8
10
24
23
22
21
19
18
28
29
27
26
28
29
30
26
25
27
25
31
5
6
6
5

Table of Contents

Other manuals for Yamaha F30A

Related product manuals