EasyManua.ls Logo

Yamaha F60C - Disassembling the Lower Case; Checking the Shift Rod and Shift Cam; Checking the Pinion and Forward Gear; Checking the Bearings

Yamaha F60C
305 pages
Print Icon
To Next Page IconTo Next Page
To Next Page IconTo Next Page
To Previous Page IconTo Previous Page
To Previous Page IconTo Previous Page
Loading...
LOWR
Lower unit
6-15
6C13G11
Disassembling the lower case
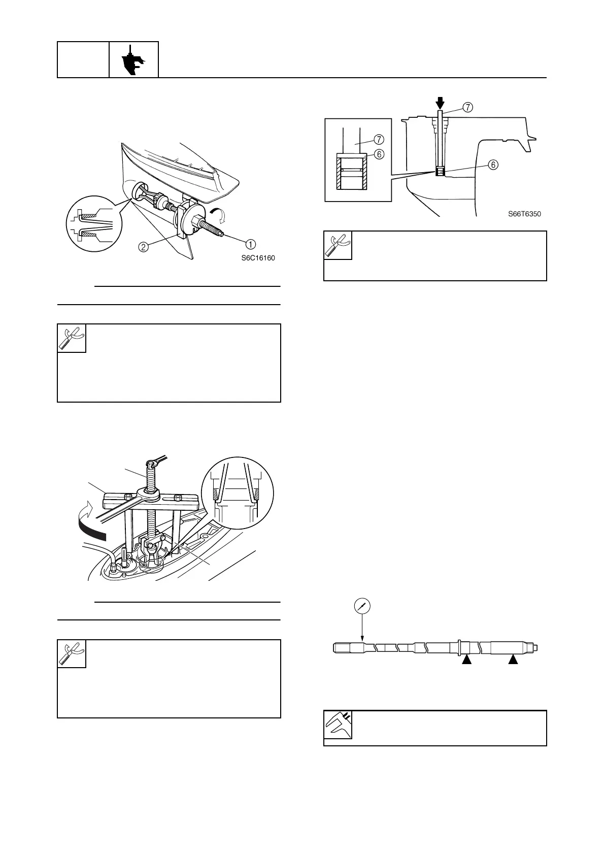
1. Remove the taper roller bearing outer
race and shim(s).
NOTE:
Install the claws as shown.
2. Remove the drive shaft bearing outer
race, shim(s), and drive shaft sleeve.
NOTE:
Install the claws as shown.
3. Remove the needle bearing.
Checking the shift rod and shift cam
1. Check the shift rod and shift cam for
cracks or wear. Replace if necessary.
Checking the pinion and forward
gear
1. Check the teeth of the pinion, and the
teeth and dogs of the forward gear for
cracks or wear. Replace if necessary.
Checking the bearings
1. Check the bearings for pitting or rum-
bling. Replace if necessary.
Checking the drive shaft
1. Check the drive shaft for bends or wear.
Replace if necessary.
2. Measure the drive shaft runout.
Bearing outer race puller
assembly
1
:
90890-06523
Stopper guide stand
2
:
90890-06538
Stopper guide plate
3
: 90890-06501
Stopper guide stand
4
:
90890-06538
Bearing puller assembly
5
:
90890-06535
S6C16180
5
3
4
Needle bearing attachment
6:
90890-06614
Driver rod L3 7: 90890-06652
Runout limit: 0.5 mm (0.020 in)
S66T6380

Table of Contents

Other manuals for Yamaha F60C

Related product manuals