EasyManua.ls Logo

Yamaha F60C - Checking the Lower Case; Assembling the Oil Seal Housing; Assembling the Lower Case

Yamaha F60C
305 pages
Print Icon
To Next Page IconTo Next Page
To Next Page IconTo Next Page
To Previous Page IconTo Previous Page
To Previous Page IconTo Previous Page
Loading...
6C13G11
6-16
1
2
3
4
5
6
7
8
9
Checking the lower case
1. Check the skeg and torpedo for cracks or
damage. Replace the lower case if nec-
essary.
Assembling the oil seal housing
1. Apply grease to new oil seals, and then
install them into the oil seal housing.
Assembling the lower case
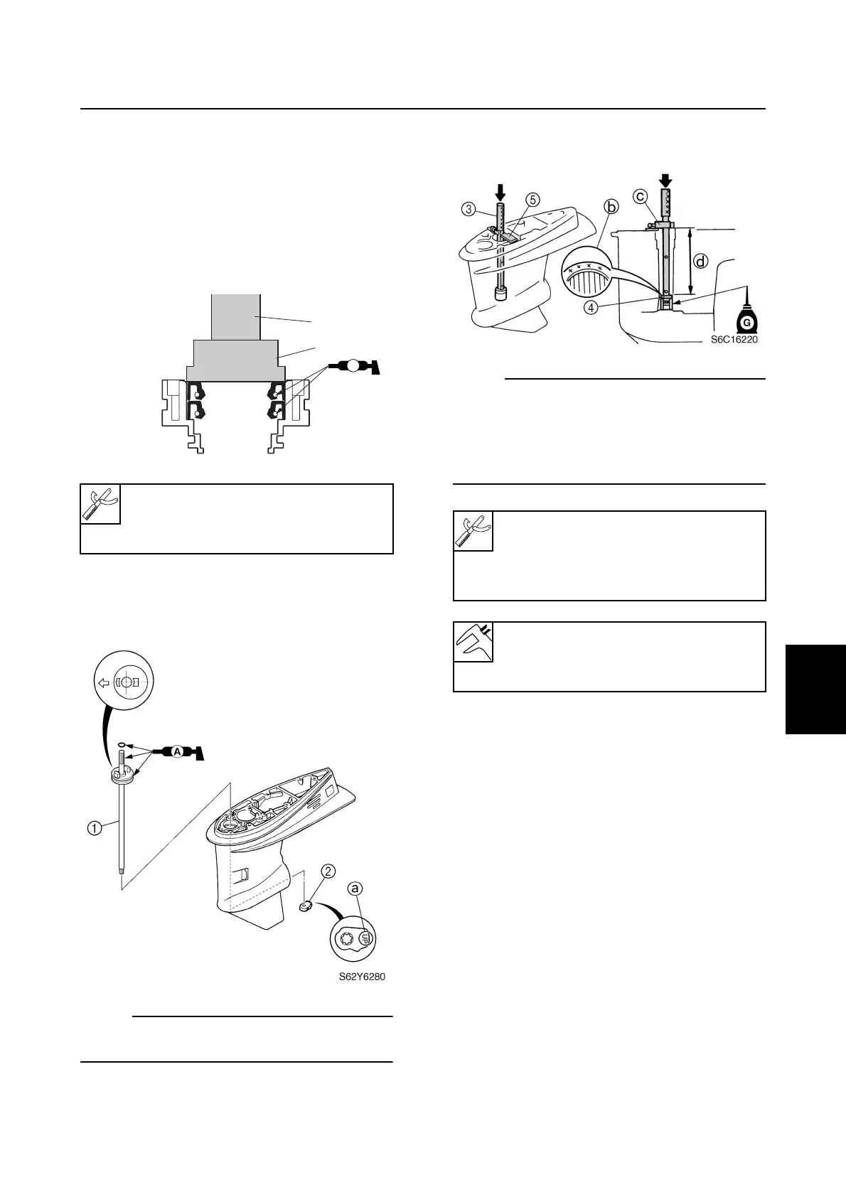
1. Install the shift rod assembly
1
and shift
cam
2
as shown.
NOTE:
Install the shift cam with the UP mark
a
facing upward.
2. Install the needle bearing into the lower
case to the specified depth.
NOTE:
Install the needle bearing with the manufac-
ture identification mark
b
facing up.
When using the driver rod, do not strike the
special service tool in a manner that will
force the stopper
c
out of place.
Needle bearing attachment
1
:
90890-06653
Driver rod L3
2
: 90890-06652
S6C16200
AA
2
1
Driver rod SL
3: 90890-06602
Needle bearing attachment 4:
90890-06614
Bearing depth plate 5: 90890-06603
Depth d:
182.75 ± 0.25 mm
(7.195 ± 0.010 in)
Drive shaft and lower case (F50, F60)

Table of Contents

Other manuals for Yamaha F60C

Related product manuals