EasyManua.ls Logo

Yamaha F75B - Cleaning and Adjusting Spark Plug; Changing Engine Oil

Yamaha F75B
88 pages
Print Icon
To Next Page IconTo Next Page
To Next Page IconTo Next Page
To Previous Page IconTo Previous Page
To Previous Page IconTo Previous Page
Loading...
Maintenance
65
EMU28955
Cleaning and adjusting spark plug
The spark plug is an important engine compo-
nent and is easy to inspect. The condition of
the spark plug can indicate something about
the condition of the engine. For example, if the
center electrode porcelain is very white, this
could indicate an intake air leak or carburetion
problem in that cylinder. Do not attempt to di-
agnose any problems yourself. Instead, take
the outboard motor to a Yamaha dealer. You
should periodically remove and inspect the
spark plug because heat and deposits will
cause the spark plug to slowly break down
and erode. If electrode erosion becomes ex-
cessive, or if carbon and other deposits are
excessive, you should replace the spark plug
with another of the correct type.
1. Remove the spark plug caps from the
spark plugs.
2. Remove the spark plug. If electrode ero-
sion becomes excessive, or if carbon and
other deposits are excessive, you should
replace the spark plug with another of the
correct type. WARNING! When remov-
ing or installing a spark plug, be care-
ful not to damage the insulator. A
damaged insulator could allow exter-
nal sparks, which could lead to explo-
sion or fire.
[EWM00561]
3. Be sure to use the specified spark plug,
otherwise the engine may not operate
properly. Before fitting the spark plug,
measure the electrode gap with a wire
thickness gauge; adjust the gap to speci-
fication if necessary.
4. When fitting the plug, wipe off any dirt
from the threads, and then screw it in to
the correct torque.
T
IP:
If a torque-wrench is not available when you
are fitting a spark plug, a good estimate of the
correct torque is 1/4 to 1/2 a turn past finger-
tight. Have the spark plug adjusted to the cor-
rect torque as soon as possible with a torque-
wrench.
EMU37491
Changing engine oil
NOTICE
ECM01710
Change the engine oil after the first 20
hours of operation or 3 months, and every
100 hours or at 1-year intervals thereafter.
Otherwise the engine will wear quickly.
The engine oil should be extracted with an oil
changer.
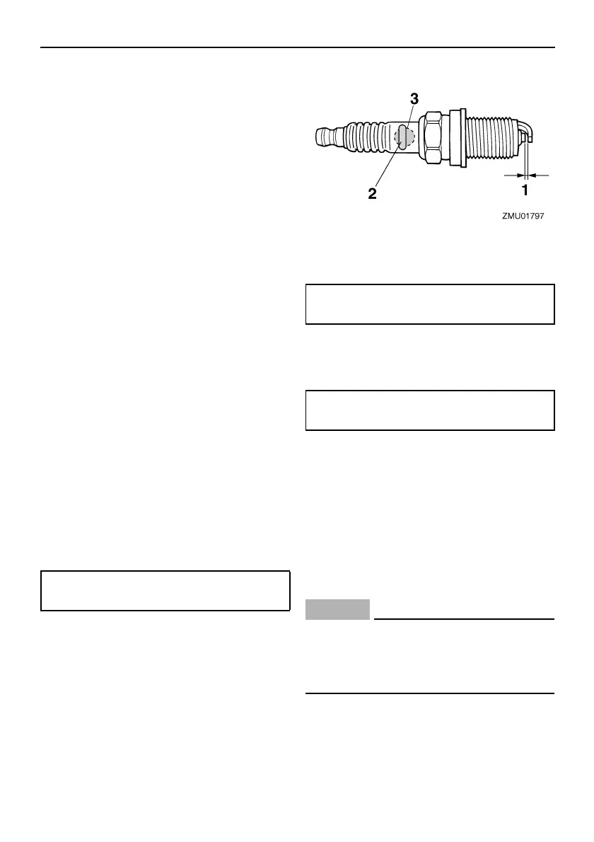
Standard spark plug:
LFR5A-11
1. Spark plug gap
2. Spark plug part number
3. Spark plug I.D. mark (NGK)
Spark plug gap:
1.01.1 mm (0.0390.043 in)
Spark plug torque:
25.0 Nm (2.55 kgf-m, 18.4 ft-lb)
U6D625E0.book Page 65 Thursday, March 13, 2008 9:06 AM

Table of Contents

Other manuals for Yamaha F75B

Related product manuals