EasyManua.ls Logo

Yanmar YM135d - Shaft Assembly

Yanmar YM135d
159 pages
Print Icon
To Next Page IconTo Next Page
To Next Page IconTo Next Page
To Previous Page IconTo Previous Page
To Previous Page IconTo Previous Page
Loading...
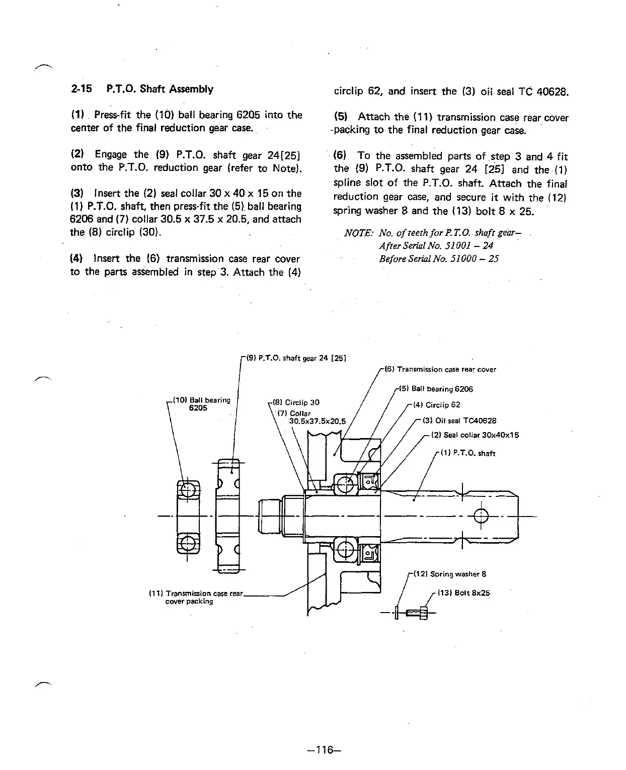
2-15
P.T.O.
Shaft Assembly
(1)
Press-fit the (10) ball bearing 6205 into the
center of the final reduction gear case.
(2) Engage the
(9)
P.T.O. shaft gear 24[25]
onto the P.T.O. reduction gear (refer to Note).
(3)
lnsert the (2) seal collar 30
x
40
x
15 on the
(1)
P.T.O. shaft, then press-fit the (5) ball bearing
6206 and
(7)
collar 30.5
x
37.5
x
20.5, and attach
the
(8)
circlip (30).
(4)
Insert the (6) transmission case rear cover
to the parn assembled in step 3. Attach the (4)
circlip 62, and insert the
(3) oil seal
TC
40628.
(5)
Attach the
(1
1)
transmission case rear cover
.-packing to the final reduction gear case.
(6)
To the assembled parts of step
3
and
4
fit
the
(9)
P.T.O. shaft gear 24 [251 and the (1)
spline slot of the P.T.O. shaft. Attach the final
reduction gear case, and secure
it
with the (12)
spring washer
8
and the (13) bolt
8
x
25.
NOTE.
No. of reeth forR
T.
0.
shaft gear-
AfrerSeriarNo.
51001
-
24
Before Serial No.
51
000
-
25
(91 P.T.O. shaft
gear
24 1251
,461
Tranrmirrion
care
rear
cover
15) Ball
bearing
6206
(31 Oil real TC40628
(21 Seal collar 30~40x15
(1) P.T.O. shah
(121
Spring
washer
8
I1 11 Transmission
case
rear
1131 Bolt8x25
cover
packing

Table of Contents

Related product manuals