EasyManua.ls Logo

Yanmar YM135d - Page 72

Yanmar YM135d
159 pages
Print Icon
To Next Page IconTo Next Page
To Next Page IconTo Next Page
To Previous Page IconTo Previous Page
To Previous Page IconTo Previous Page
Loading...
-
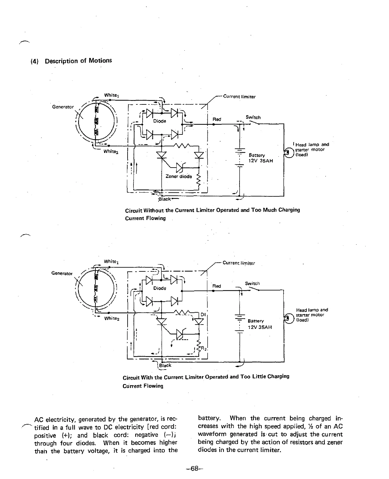
(4)
Description of Motions
Circuit Without the Current Limiter Operated and Too Much Charging
Current Flowing
Whirel
7f
Current
ilmiter
Red
Swlxch
-
I
Head
lamp
and
-
Starter
motor
-
,
Banen,
(load)
!
12V35AH
-
Circuit With the Current Limiter Operated and Too Little Charging
Current Flowing
AC electricity, generated by the generator, is rec-
battery. When the current being charged in-
/--
..
t~fled in a full wave to DC electricity [red cord:
creases with the high speed applied,
%
of an AC
positive
(+);
and black cord: negative
(-11
waveform generated is cut to adjust the current
through four diodes.
When
it
becomes higher
being charged by the action of resistors and zener
than the battery voltage,
it
is charged into the
diodes in the current limiter.

Table of Contents

Related product manuals