EasyManua.ls Logo

York MILLENIUM YCAS Series - Clearances

York MILLENIUM YCAS Series
156 pages
Print Icon
To Next Page IconTo Next Page
To Next Page IconTo Next Page
To Previous Page IconTo Previous Page
To Previous Page IconTo Previous Page
Loading...
74
YORK INTERNATIONAL
(1.3 m)
(2 m)
(2 m)
(2 m)
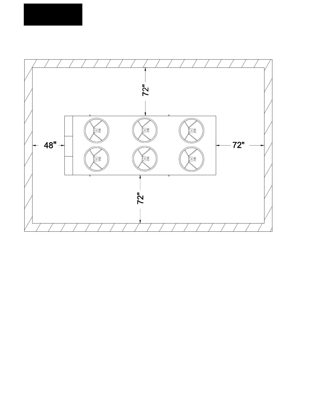
TECHNICAL DATA
CLEARANCES
Notes:
1. No obstructions allowed above the unit.
2. Only one adjacent wall may be higher than the unit.
3. Adjacent units should be 10 feet (3 meters) apart.
LD05903
FIG. 22 CLEARANCES
Technical Data

Table of Contents

Related product manuals