EasyManua.ls Logo

Zenith XBV442 - Basic TV Connections; Optional, Preferred TV Connections

Zenith XBV442
40 pages
Print Icon
To Next Page IconTo Next Page
To Next Page IconTo Next Page
To Previous Page IconTo Previous Page
To Previous Page IconTo Previous Page
Loading...
12
Connections (Continued)
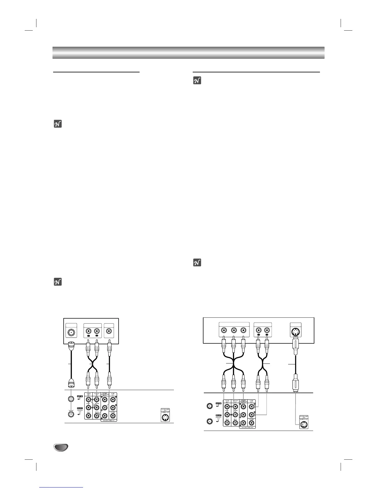
Basic TV Connections
Make one of the following connections, depending on
the capabilities of the equipment to be connected.
RF coaxial connection
Connect the RF.OUT jack on the DVD+VCR to the
antenna in jack on the TV using the 75-ohm Coaxial
Cable supplied (R).
ote
If you use this connection, tune the TV to the
DVD+VCR’s RF output channel (CH 3 or 4).
How to set the DVD+VCR’s RF output channel
1. Set the TV to the VCR channel (3 or 4) depending
upon the selected channel.
2. When the DVD+VCR is turned off,
press and hold CH
(V/v) on the front panel for more than five seconds.
It will turn itself on and “RF03” or “RF04” appears in the dis-
play window.
3.
Press CH (V/v) on the front panel or CH/TRK (v/V)
on the remote control to change the RF output chan-
nel (CH 03 or CH 04).
4.
Turn off the DVD+VCR.
Audio/Video connection
11
Connect the DVD/VCR VIDEO OUT jack on the
DVD+VCR to the video in jack on the TV using the
video cable supplied (V).
22
Connect the Left and Right DVD/VCR AUDIO OUT
jacks on the DVD+VCR to the audio left/right in
jacks on the TV (A1) using the supplied audio
cables.
ote
If you use this connection, set the TV’s source selector
to VIDEO.
Optional, Preferred TV Connections
ote
You can ONLY watch and listen to DVD playback
through the connections shown below.
S-Video connection
11
Connect the S-VIDEO OUT jack on the DVD+VCR
to the S-Video in jack on the TV using the optional
S-Video cable (S).
22
Connect the Left and Right AUDIO OUT jacks of
the DVD+VCR to the audio left/right in jacks on the
TV using the supplied audio cables (A2).
Component Video (Color Stream
®
) / Progressive
Scan (ColorStream
®
pro) connection
If your television is a high-definition or “digital ready”
television, you may take advantage of the
DVD+VCR’s progressive scan output for the highest
video resolution possible.
If your TV does not accept the Progressive Scan for-
mat, the picture will appear scrambled if you try
Progressive Scan on the DVD+VCR.
11
Connect the COMPONENT/PROGRESSIVE SCAN
VIDEO OUT jacks on the DVD+VCR to the corre-
sponding in jacks on the TV using an optional Y Pb
Pr cable (C).
22
Connect the Left and Right AUDIO OUT jacks of
the DVD+VCR to the audio left/right in jacks on the
TV (A2) using the supplied audio cables.
otes
Set the Progressive Scan to “On” on the setup menu
for progressive scan signal, see page 18.
When you use Component Video signal, set the
Progressive Scan to “Off” on the setup menu.
Progressive scan does not work with the analog video
connections (yellow VIDEO OUT jack).
L
R
AUDIO INPUT
VIDEO
INPUT
ANTENNA
INPUT
Rear of TV
Rear of DVD+VCR
A1 VR
Y
Pb
Pr
COMPONENT VIDEO INPUT
L
R
AUDIO INPUT
S-VIDEO
INPUT
Rear of TV
Rear of DVD+VCR
S
A2
C

Table of Contents

Related product manuals