EasyManua.ls Logo

Zoom MRS-8 - Page 34

Zoom MRS-8
148 pages
Print Icon
To Next Page IconTo Next Page
To Next Page IconTo Next Page
To Previous Page IconTo Previous Page
To Previous Page IconTo Previous Page
Loading...
Reference [Recorder]
ZOOM MRS-8
34
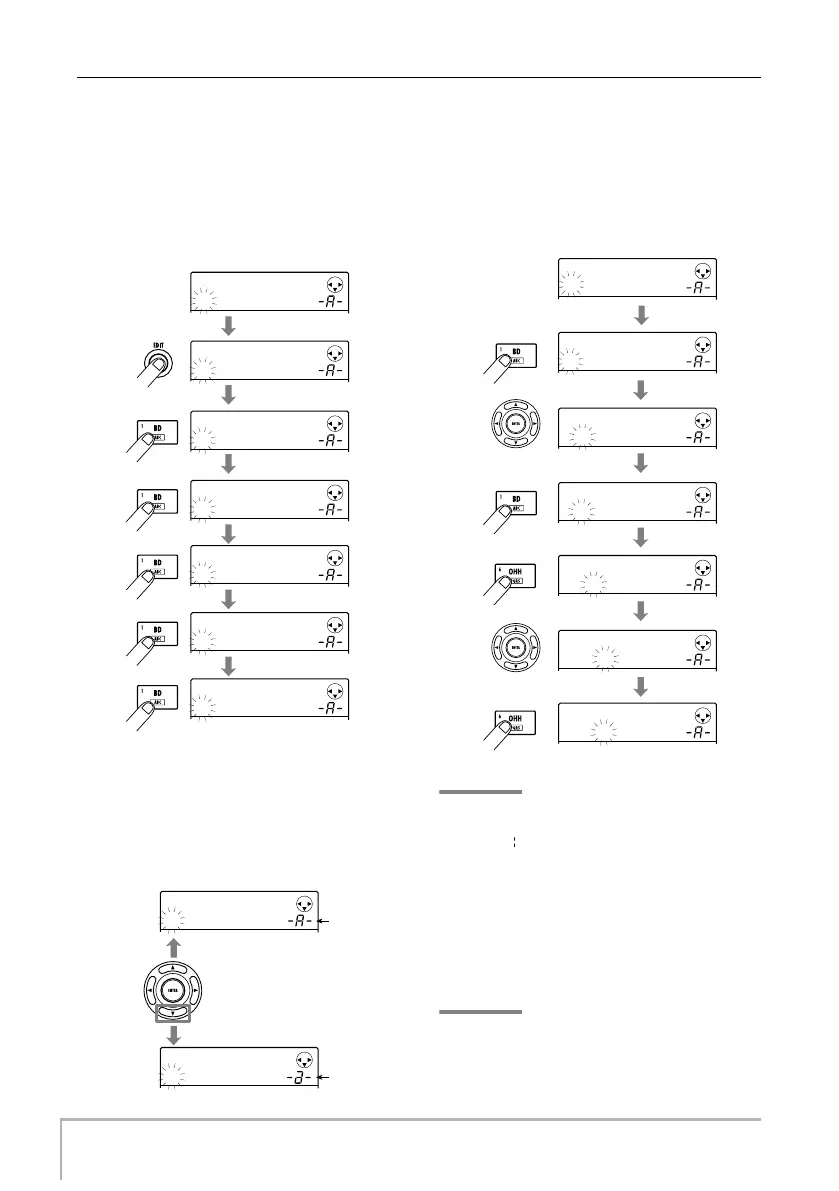
subsequent characters move one position to the right. To
clear the old name first, press the [EDIT] key repeatedly
until all characters are erased, and then start the input
procedure.
When all characters are cleared and you press pad 1
repeatedly, the character under the cursor changes in the
order A
B
C
1
A
B ...
To switch between upper and lower case, press the cursor
down key. The currently selected case is indicated by the
A” or “a” shown on the second line of the display. You
can change the case of a letter after you have already
input it by pressing the cursor down key immediately
afterwards.
By pressing another pad or key after entering a character,
the cursor will move to the next position, without the
need for pressing the cursor key. If the next character to
input is assigned to the same pad, you must first press the
cursor right key once to move the cursor, and then enter
the character. An example for entering “BASS” from
scratch is shown below.
NOTE
The space character and some symbols (“ # $ % ‘, – . / : ; <
> = [ ] ^ _ ` { } \ ˜ ) cannot be entered with the pads and keys
of the rhythm section.
6.
Repeat step 5 to complete the desired
name.
7.
To finish, press the [EXIT] key.
The main screen appears again.
HINT
If the contents of a V-take are erased, the name reverts to
“NO DATA”.
TakeName
TakeName
TR 1- 1
TR 1- 1
TakeName
TakeName
±
TakeName
TakeName
A
TakeName
TakeName
B
TakeName
TakeName
C
TakeName
TakeName
1
TakeName
TakeName
A
Press repeatedly
[EDIT] key
Pad 1
TakeName
TakeName
A
TakeName
TakeName
a
Cursor down key
Upper case
character
Lower case
character
Case
indication
Case
indication
TakeName
TakeName
±
TakeName
TakeName
B
TakeName
TakeName
B
TakeName
TakeName
BA
BA
TakeName
TakeName
BAS
BAS
TakeName
TakeName
BAS
BAS
TakeName
TakeName
BASS
BASS
Press x2
Press x1
Cursor [
R
] key
Cursor [
R
] key
Pad 1
Pad 1
Press x4
Pad6
Press x4
Pad 6
MRS-8(E).book 34 ページ 2004年7月30日 金曜日 午後5時24分

Table of Contents

Related product manuals