EasyManua.ls Logo

Zoom MRS-8 - Introducing the MRS-8; Recorder; Rhythm section; Mixer

Zoom MRS-8
148 pages
Print Icon
To Next Page IconTo Next Page
To Next Page IconTo Next Page
To Previous Page IconTo Previous Page
To Previous Page IconTo Previous Page
Loading...
ZOOM MRS-8
8
MASTER
7/85/64321
BASSDRUM
Recorder
Rhythm section
Mixer
From immediately
after [MASTER] fader
To immediately
before
[MASTER] fader
Drum sound source
Bass sound source
To
master
track
Send/return effect
Insert
effect
INPUT 1
or
Built-in
mic
INPUT 2
From master track
Track 1
Track 2
Track 3
Track 4
Tracks 5/6
Tracks 7/8
Master Track
MASTER OUTPUT
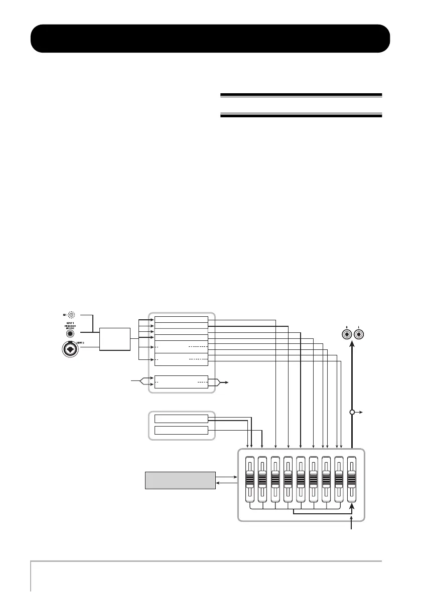
Introducing the MRS-8
The MRS-8 is internally divided into the following four sections.
Recorder
Records and plays back audio signals.
Rhythm section
Uses the internal drum/bass sound source to play
rhythms.
Mixer
Mixes the signals from the recorder and the drum/bass
sound source into a stereo signal, for output via the output
jacks and for mixdown on dedicated master tracks.
Effects
Process input signals, recorder playback signals, or drum/
bass sound source signals in various ways, to achieve
various sound characteristics.
The following diagram shows the relationship and signal
flow between each section.
Recorder
The recorder section of the MRS-8 has eight audio tracks.
(A “track” is a separate section for recording audio data.)
There are four mono tracks (track 1 – 4) and two stereo
tracks (tracks 5/6 and 7/8). Up to 2 tracks can be recorded
simultaneously and up to 8 tracks can be played back
simultaneously.
Each of the tracks has ten switchable virtual tracks (called
“V-takes”). For each track, one V-take can be selected for
recording/playback.
MRS-8(E).book 8 ページ 2004年7月30日 金曜日 午後5時24分

Table of Contents

Related product manuals