EasyManua.ls Logo

Aaeon EMB-H81B - COM1 Ring;5 V;12 V Selection; LVDS Panel Voltage Selection; Inverter Voltage Selection

Aaeon EMB-H81B
52 pages
Print Icon
To Next Page IconTo Next Page
To Next Page IconTo Next Page
To Previous Page IconTo Previous Page
To Previous Page IconTo Previous Page
Loading...
EMB-H81B
2-14
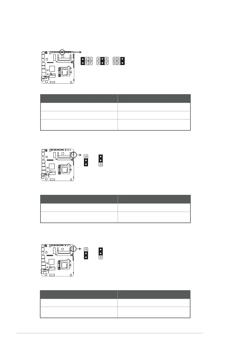
2. COM1 Ring/+5V/+12V selection (COM1_VSET)
Setting Pins
+12V 1-2
+5V 3-4
Ring(Default) 5-6
3. LVDS panel voltage selection (3-pin LJ1)
Pins
+5V 1-2
+3.3V(Default) 2-3
EMB-H81B COM1 Ring/+5V/+12V selection
COM1_VSET
1 2
3 4
5 6
+12V +5V Ring
(Default)
EMB-H81B LVDS Panel Voltage selection
1 2
2 3
+3V
(Default)
+5V
LJ1
4. Inverter voltage selection (3-pin LJ2)
Pins
+12V 1-2
+5V(Default) 2-3
EMB-H81B Inverter Voltage selection
1 2
2 3
+5V
(Default)
+12V
LJ2

Related product manuals