EasyManua.ls Logo

ABB PSE 72 - Parameter settings

ABB PSE 72
104 pages
Print Icon
To Next Page IconTo Next Page
To Next Page IconTo Next Page
To Previous Page IconTo Previous Page
To Previous Page IconTo Previous Page
Loading...
Softstarters Type PSE18...PSE370 Installation and commissioning manual 1SFC132057M020156 Chapter 7
Chapter 7 Functions and conguration
How to navigate the menu, see Chapter 6 Human-Machine Interface (HMI), espe-
cially chapter 6.2 Navigating the menu.
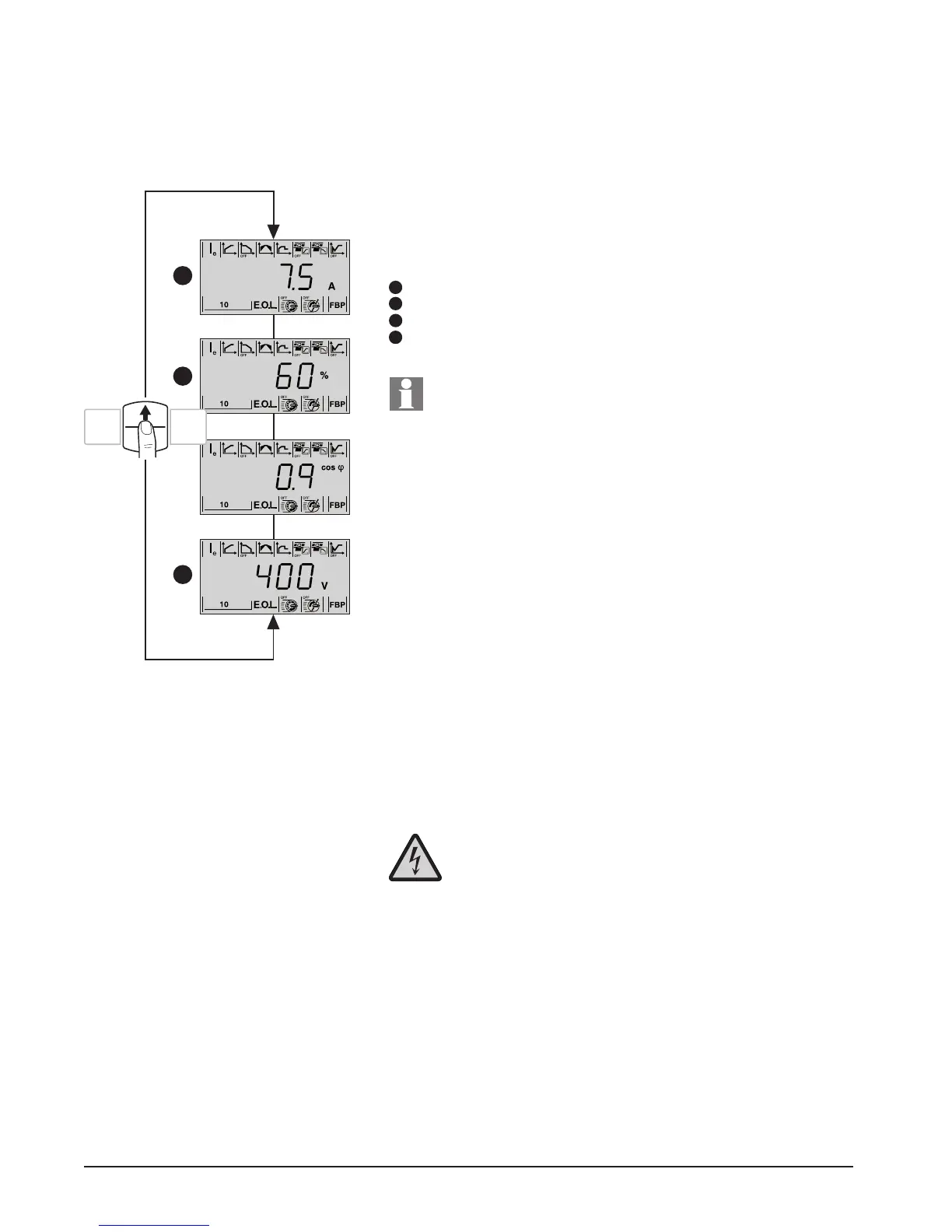
7.1 Softstarter operational data
The information level is the top level of the user menu. Information about output
current, line voltage, power factor, and voltage to the motor is displayed.
On the information level the softstarter displays current values for:
1
Motor current (A)
2
Voltage to the motor (%)
Power factor /Cos
j
4
Input voltage on the line side (V)
The motor current is calculated as the maximum RMS value of the three phases.
Using the motor current displayed on Information level as input for setting of Cur-
rent Limit, may result in too low Current Limit. This may cause a longer starting
time and unnecessary heating of the motor.
7.2 Parameter settings
Settings can be done in four different ways:
Keypad
Fieldbus communication (option)
External keypad (option)
With the keypad or external keypad, settings can be done as individual parameter
setting of all essential parameters.
When the eldbus communication (option) is enabled, most parameters can also
be modied from this interface.
User default parameter set is stored in the unit for a possible reset to default val-
ues. See chapter 7.7.1 about resetting parameters to user default values.
Caution!
The motor may start unexpectedly if there is a start signal present, when do-
ing any of the actions listed below.
Switching from one type of control to another (eldbus control / hard-
wire control).
Resetting events.
Using automatic event reset.
Exit
Select
Reset
1SFC132295F0001
Figure 7.1: Information Level, displayed information
1
2
3
4
3

Table of Contents

Related product manuals