EasyManua.ls Logo

ABB TPL73-A32 - Page 112

ABB TPL73-A32
139 pages
Print Icon
To Next Page IconTo Next Page
To Next Page IconTo Next Page
To Previous Page IconTo Previous Page
To Previous Page IconTo Previous Page
Loading...
Operation Manual / TPL69-A10 / -A30 ... TPL77-A10 / -A30
8 Disassembly and assembly / 8.8 Dismantling and fitting nozzle ring
at turbine end
© Copyright 2018 . All rights reserved. HZTL2481_EN Revision C May 2018
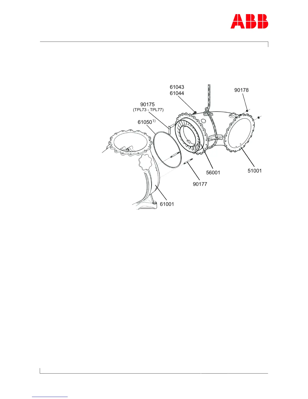
Flange connection assembly
u Carefully clean grooves and contact surfaces on the casing and keep
them free of metal chips.
u Keep grooves and spiral-wound gasket free from oil and grease.
1) If provided
u Fix a new spiral-wound gasket (61050) using a little instant adhesive
("Loctite® 454gel", for example) applied at three equally spaced
points in the groove.
TPL73 – TPL77
u Fit nozzle ring and place holder (90175) over the nozzle ring. Then
tighten holder (90175) using screw (61044) and Verbus Ripp® washer
(61043).
u Align gas inlet casing and secure using hexagon nuts (90178) on studs
(90177) .
TPL69
u Insert and position nozzle ring.
TPL73 – TPL77
u Remove holder (90175) and screw (61044) together with Verbus Ripp®
washers (61043).
u Coat thread of screws (61044) with high temperature grease.
u Fit gas inlet casing flange to gas outlet casing using finger-tight
screws (61044) and Verbus Ripp® washers (61043).
u Remove the hexagon nuts (90178) from the studs (90177).
u Replace the studs (90177) with hexagon-head screws (61044) and Ver-
bus Ripp® washers (61043).
Segment connection assembly
u Carefully clean slots and contact surfaces of the casings and keep
them free of metal chips.
Page 110 / 136

Table of Contents

Related product manuals