EasyManua.ls Logo

AEG CTV 4951 - Device Overview, Setup, and Safety

AEG CTV 4951
Print Icon
To Next Page IconTo Next Page
To Next Page IconTo Next Page
To Previous Page IconTo Previous Page
To Previous Page IconTo Previous Page
Loading...
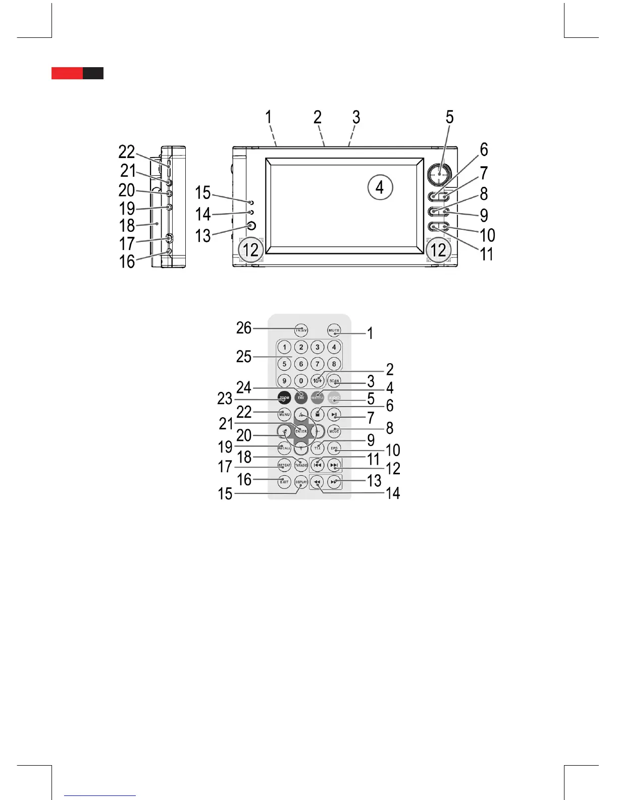
Overview of the Components
Panoramica dei componenti
Abb./Fig. 1
Abb./Fig. 2
Übersicht der Bedienelemente
3
Inhalt
2

Table of Contents

Related product manuals