EasyManua.ls Logo

AGFA MSC 100 - Rückseitendrucker; Back Printer; Imprimante Dorsale 50 A-0106

AGFA MSC 100
378 pages
Print Icon
To Next Page IconTo Next Page
To Next Page IconTo Next Page
To Previous Page IconTo Previous Page
To Previous Page IconTo Previous Page
Loading...
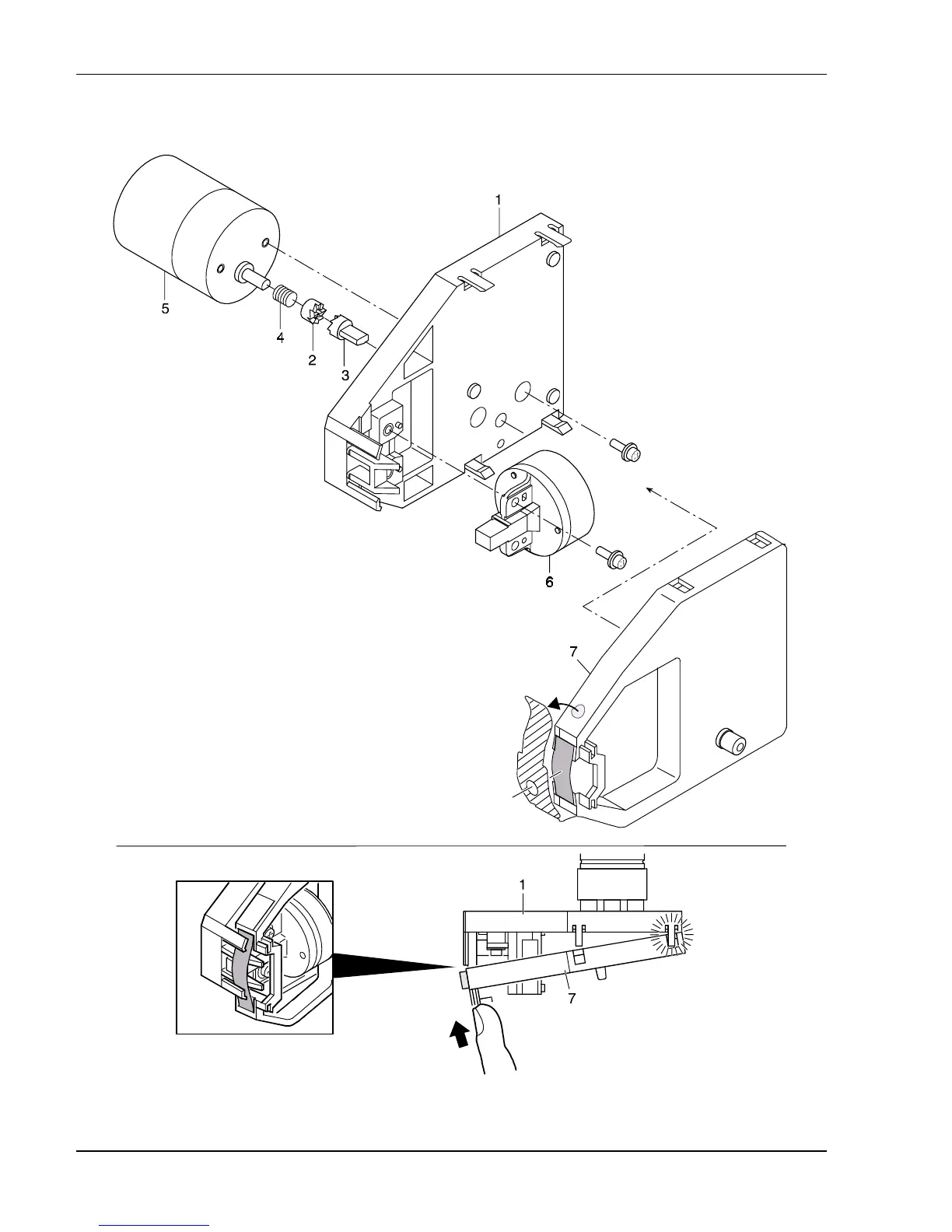
Papierlauf / Paper Drive / Avance papier
4.40
02.11.98 /PN 8042
AGFA MSC 100
Rückseitendrucker / Back Printer / Imprimante dorsale 50A-0106
85060077.cdr

Table of Contents

Related product manuals