EasyManua.ls Logo

AGFA MSC 100 - MSC 100; MSC 101: Sorter; Trieur

AGFA MSC 100
378 pages
Print Icon
To Next Page IconTo Next Page
To Next Page IconTo Next Page
To Previous Page IconTo Previous Page
To Previous Page IconTo Previous Page
Loading...
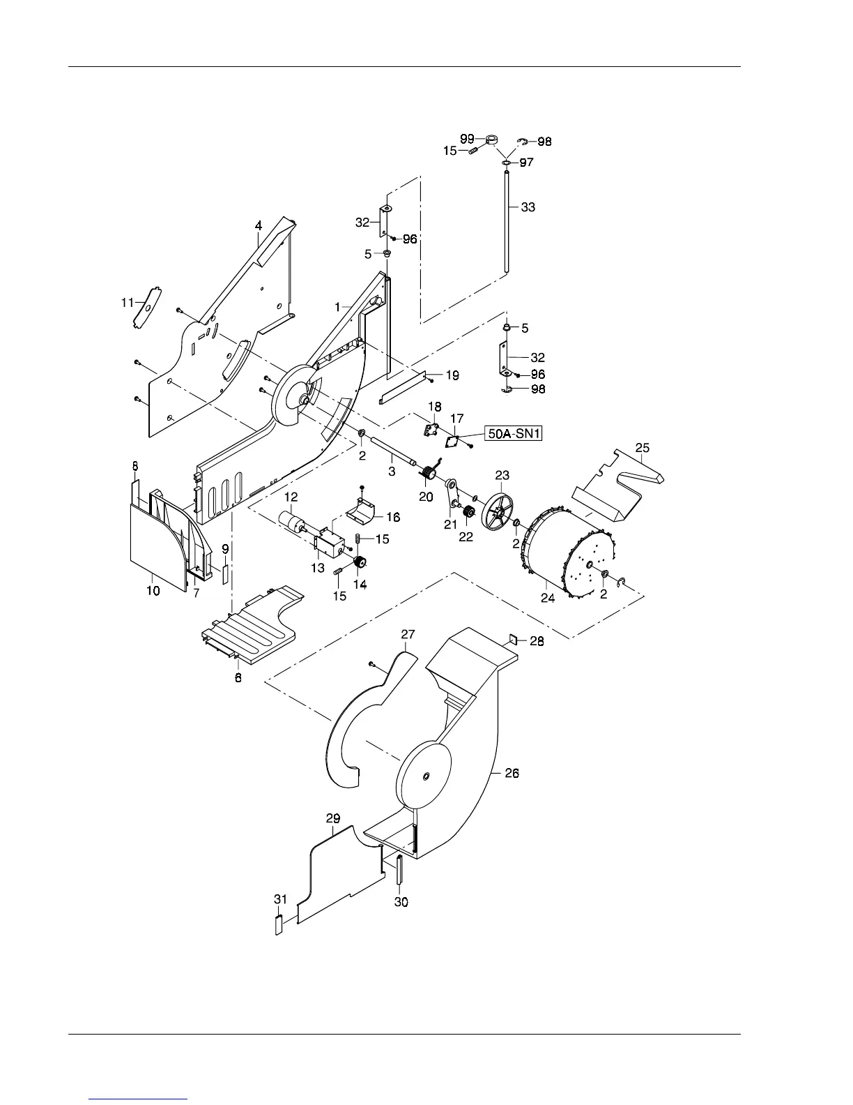
Optionales Zubehör / Optional accessories / Accessoires optionels
7.8
16.06.99 /PN 8042
AGFA MSC 100, MSC 101, MSC 200, MSC 300
MSC 100 / MSC 101: Rundsortierer / Sorter / Trieur Type 8506/118
85060123.cdr

Table of Contents

Related product manuals