EasyManua.ls Logo

AirTouch 2 - Multiple Gateways

AirTouch 2
68 pages
Print Icon
To Next Page IconTo Next Page
To Next Page IconTo Next Page
To Previous Page IconTo Previous Page
To Previous Page IconTo Previous Page
Loading...
64
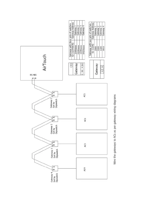
Multiple Gateways
If AirTouch 2+ is to control more than one AC unit, gateways for multiple ACs can
be joined in serial as shown in the wiring above. Each gateway will be set with a
unique gateway address and as required for the AC connected.
Wiring Diagrams contd.