EasyManua.ls Logo

Alcoma ZENITH 80 - Page 33

Default Icon
54 pages
Print Icon
To Next Page IconTo Next Page
To Next Page IconTo Next Page
To Previous Page IconTo Previous Page
To Previous Page IconTo Previous Page
Loading...
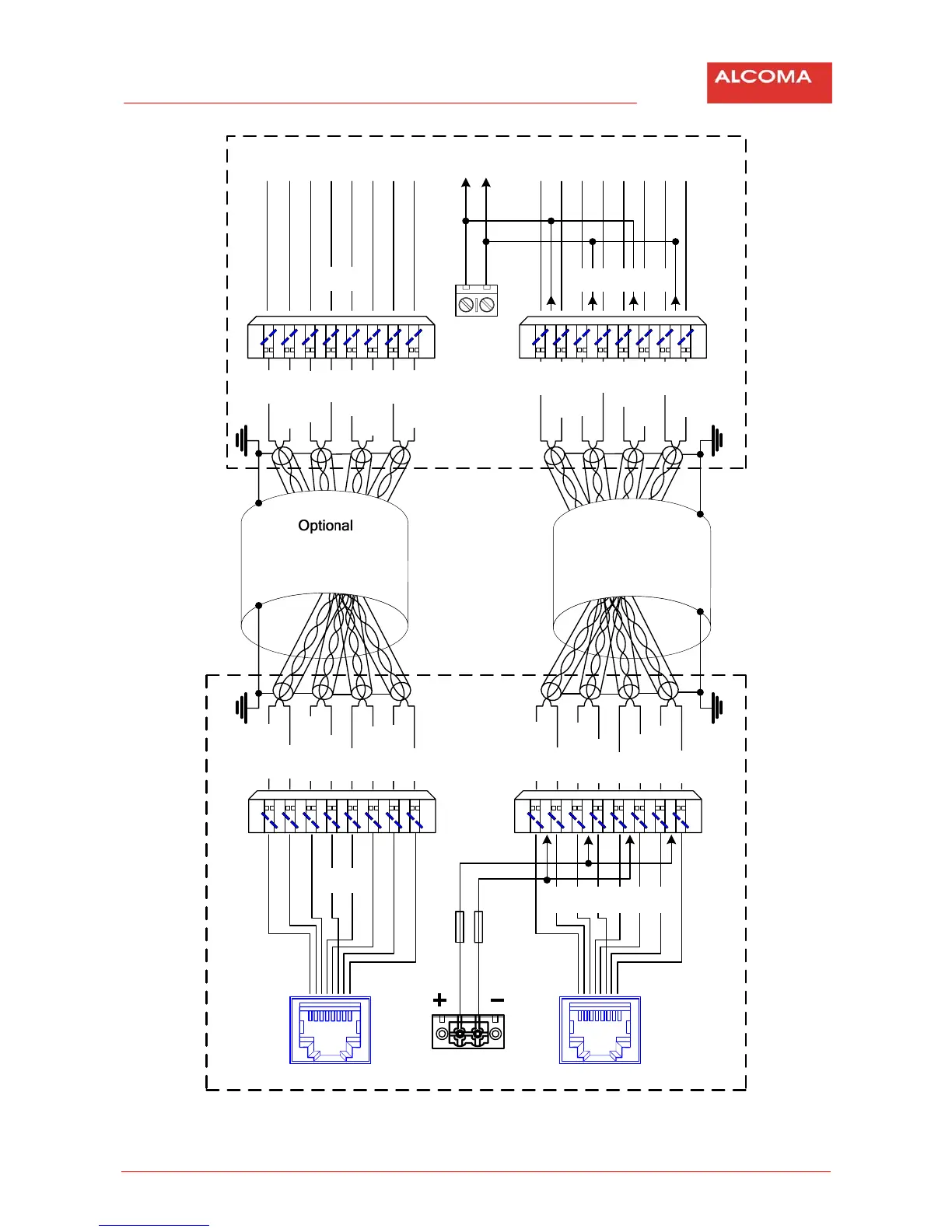
MicrowaveradiorelaylinkZENITH80
33/52 1.2
+
= 48 V
ODU
AL80GE
1818
Protected
terminal box
ALS1x
T 2,0A
Power supply
ODU = 48 V
LINE 3
LINE 2
Eth
18
Eth
18
1818
White orange
Orange
White blue
White brown
White green
Green
Blue
Brown
White orange
Orange
White blue
White brown
White green
Green
Blue
Brown
White orange
Orange
White blue
White brown
White green
Green
Blue
Brown
LINE2
LINE3 & Power
T 2,0A
LINE2
White orange
Orange
White blue
White brown
White green
Green
Blue
Brown
Connecting
cable S-STP
ALS1x -
ODU
Connecting
cable S-STP
ALS1x - ODU
LINE3 & Power
Figure22 Connectionoftheconnectingcable