EasyManua.ls Logo

Alliance Laundry Systems STB75CE - Page 142

Alliance Laundry Systems STB75CE
172 pages
Print Icon
To Next Page IconTo Next Page
To Next Page IconTo Next Page
To Previous Page IconTo Previous Page
To Previous Page IconTo Previous Page
Loading...
140
M413620
Figura 22
Figura 23
T047SS3A
T048SS3A
T049SS3A
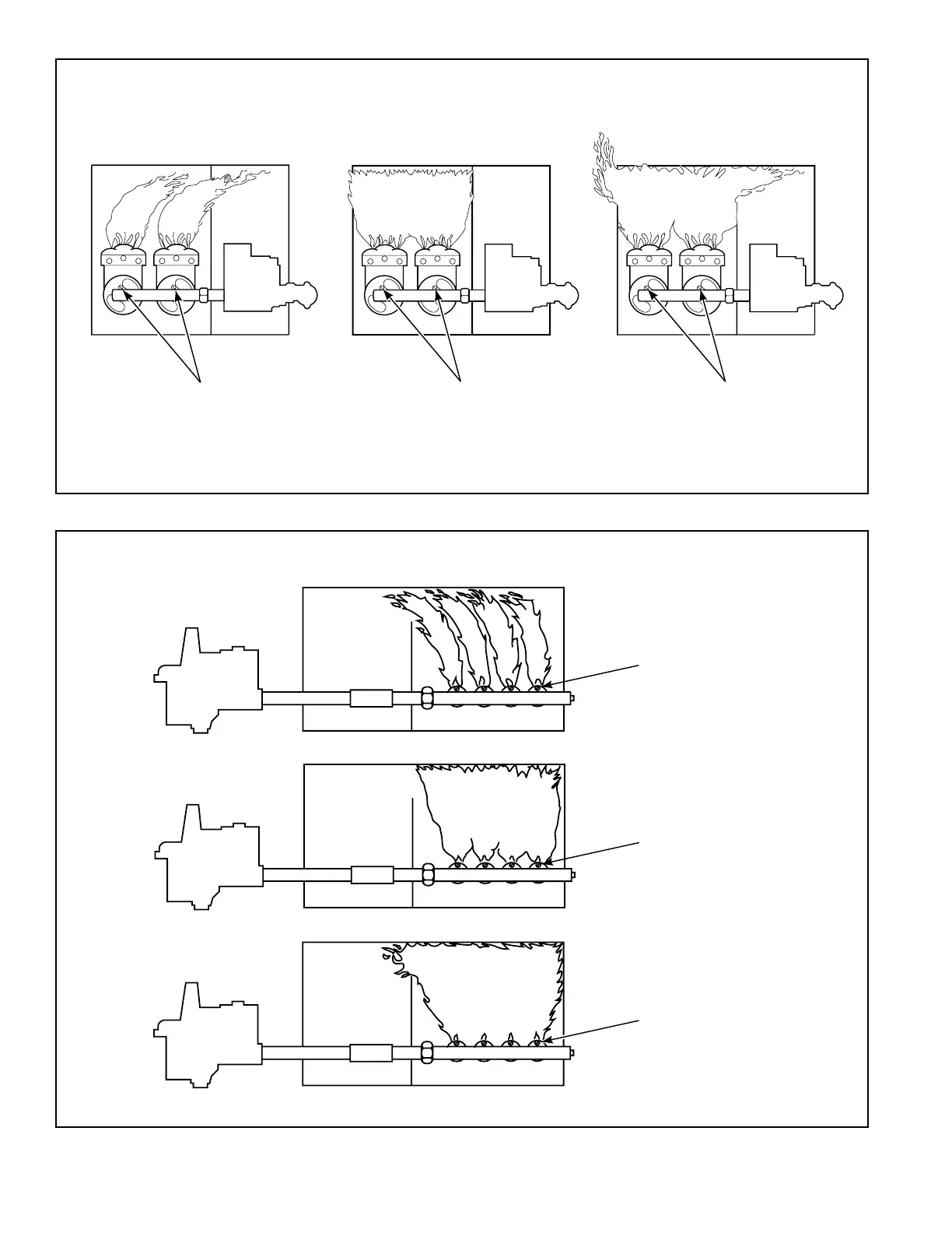
FLUJO DE AIRE
CORRECTO
FLUJO DE AIRE
INSUFICIENTE
NO HAY FLUJO
DE AIRE
TORNILLOS DE REGULACIÓN DE
LOS OBTURADORES DE AIRE
TORNILLOS DE REGULACIÓN DE
LOS OBTURADORES DE AIRE
TORNILLOS DE REGULACIÓN DE
LOS OBTURADORES DE AIRE
NOTA: La configuración de los quemadores diferirá según sean las secadoras de 30, 50 ó 75 libras, pero
forma de llama será como se ilustra.
PARA SECADORAS DE 30, 50 Y 75 LIBRAS
PARA SECADORAS DE 120 Y 170 LIBRAS
T211IS3A
TORNILLOS DE
REGULACIÓN DE LOS
OBTURADORES DE AIRE
FLUJO DE AIRE CORRECTO
T212IS3A
FLUJO DE AIRE INSUFICIENTE
T210IS3A
NO HAY FLUJO DE AIRE
TORNILLOS DE
REGULACIÓN DE LOS
OBTURADORES DE AIRE
TORNILLOS DE
REGULACIÓN DE LOS
OBTURADORES DE AIRE

Table of Contents