EasyManua.ls Logo

Alliance Laundry Systems STB75CE - Air Flow Switch

Alliance Laundry Systems STB75CE
172 pages
Print Icon
To Next Page IconTo Next Page
To Next Page IconTo Next Page
To Previous Page IconTo Previous Page
To Previous Page IconTo Previous Page
Loading...
M413620
55
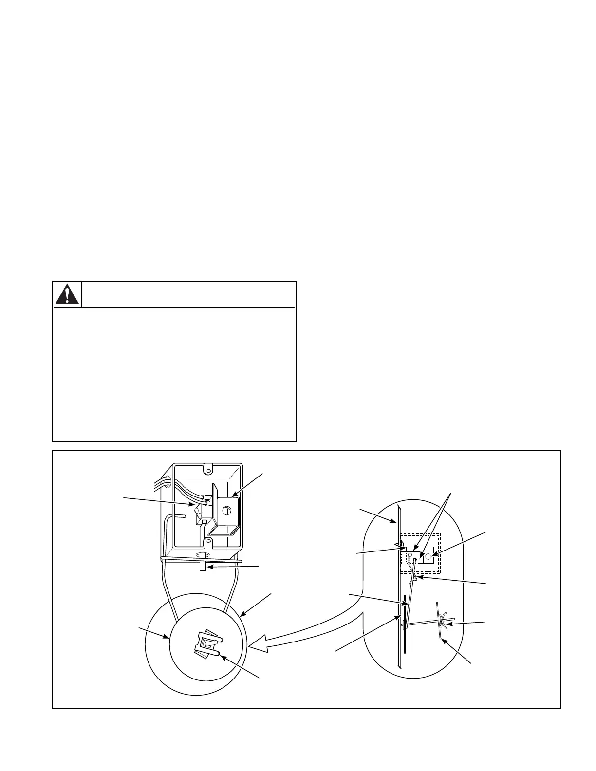
AIR FLOW SWITCH
For 30, 50, and 75 Pound Gas and Electric Tumblers
The air flow switch (located on the rear of tumbler Figure
24) is set at the factory for proper operation. Steam models
do not have an airflow switch. However, if there is a
problem with the switch, it should be adjusted as follows:
NOTICE: Control panel must be in place and access
door closed before attempting to adjust air flow
switch.
IMPORTANT: Air flow switch disc must remain
closed during operation. If it opens and closes during
the drying cycle, this indicates insufficient air flow
through the tumbler. If switch remains open, or pops
open and closed during the cycle, the heating system
will shut off. The cylinder and fan will continue to
operate even though the air flow switch is
malfunctioning.
The air flow switch operation is controlled by the
counterweight position in the shaft. Moving the
counterweight either increases or decreases air flow
switch sensitivity. The counterweight should be adjusted
so the air flow will force the disc away from the cabinet
when the lint panel is opened 6 inches (15.24 cm) with a
full load. Adjust the air flow switch as follows:
1. Load the tumbler. This adjustment is much faster to
make with one person opening lint panel in front and
another adjusting the counterweight in the rear of
tumbler.
2. Start the tumbler. Open the lint panel 6 inches
(15.24 cm). The airflow disc should move away
from the cabinet, opening the switch contacts and
shutting off the heat system. This indicates proper
operation and proper adjustment.
3. If switch is not opening as described in step “2”, it
should be adjusted so it is MORE sensitive. Depress
the spring clip and move counterweight toward disc.
Retest by opening lint panel and continue moving
counterweight toward disc until switch operates as
described in step “2”.
4. If switch opens BEFORE lint panel is opened the
proper distance, step “2”, it should be adjusted so it
is LESS sensitive. Depress the spring clip and move
counterweight away from the disc. Retest by opening
lint panel and continue moving counterweight away
from disc until switch operates as described in step
“2”.
Figure 24
To reduce the risk of fire, air flow switch
operation may be affected by a clogged
lint screen, lack of make-up air,
obstructions in the vertical recirculation
stack or in the customer installed main or
collector ducts. These conditions must
be checked and necessary corrections
made before adjusting air flow switch.
Always adjust air flow at installation.
W073
WARNING
T041IE3A
AIR FLOW
SWITCH
COUNTERWEIGHT
SPRING
CLIP
DISC
SWITCH
LEVER
MOUNTING
BRACKET
REAR
PANEL OF
TUMBLER
AIR FLOW
SWITCH
VANE
LEVER
ARM
DISC
COUNTERWEIGHT
SWITCH
LEVER
SWITCH
ADJUSTING
SCREWS
SCREW
SPRING
CLIP

Table of Contents