EasyManua.ls Logo

Almex T4PGF1 - Receptacle Pin Explanation; Receptacle Pin Explanations

Default Icon
30 pages
Print Icon
To Next Page IconTo Next Page
To Next Page IconTo Next Page
To Previous Page IconTo Previous Page
To Previous Page IconTo Previous Page
Loading...
T4PGF1 INSTRUCTION MANUAL Page 19
SHAW-ALMEX INDUSTRIES LIMITED June 14 2017
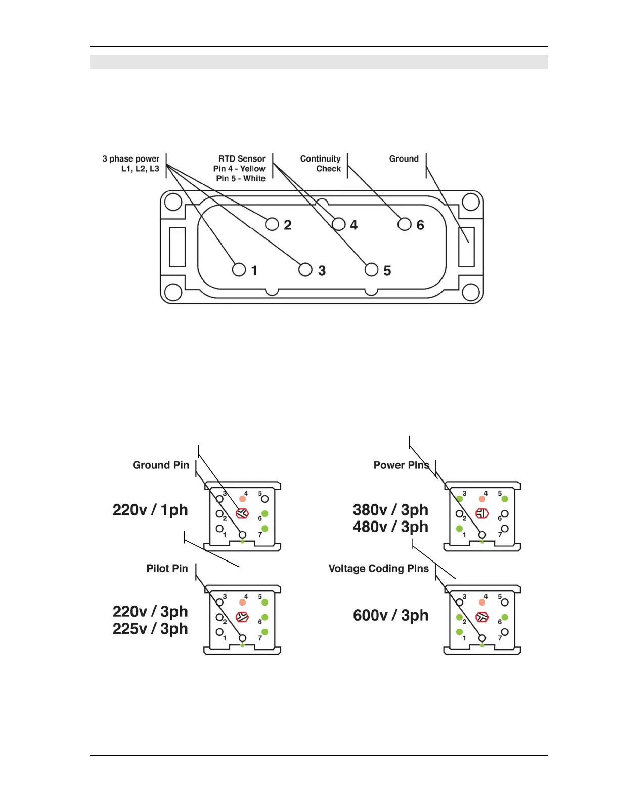
12. RECEPTACLE PIN EXPLANATION
Platen receptacle
Pump Receptacle
Pilot Pin
Power Pins
Voltage Coding Pin

Related product manuals