EasyManua.ls Logo

Alpine ALP080B - Page 65

Alpine ALP080B
152 pages
Print Icon
To Next Page IconTo Next Page
To Next Page IconTo Next Page
To Previous Page IconTo Previous Page
To Previous Page IconTo Previous Page
Loading...
103448-07 - 1/16 65
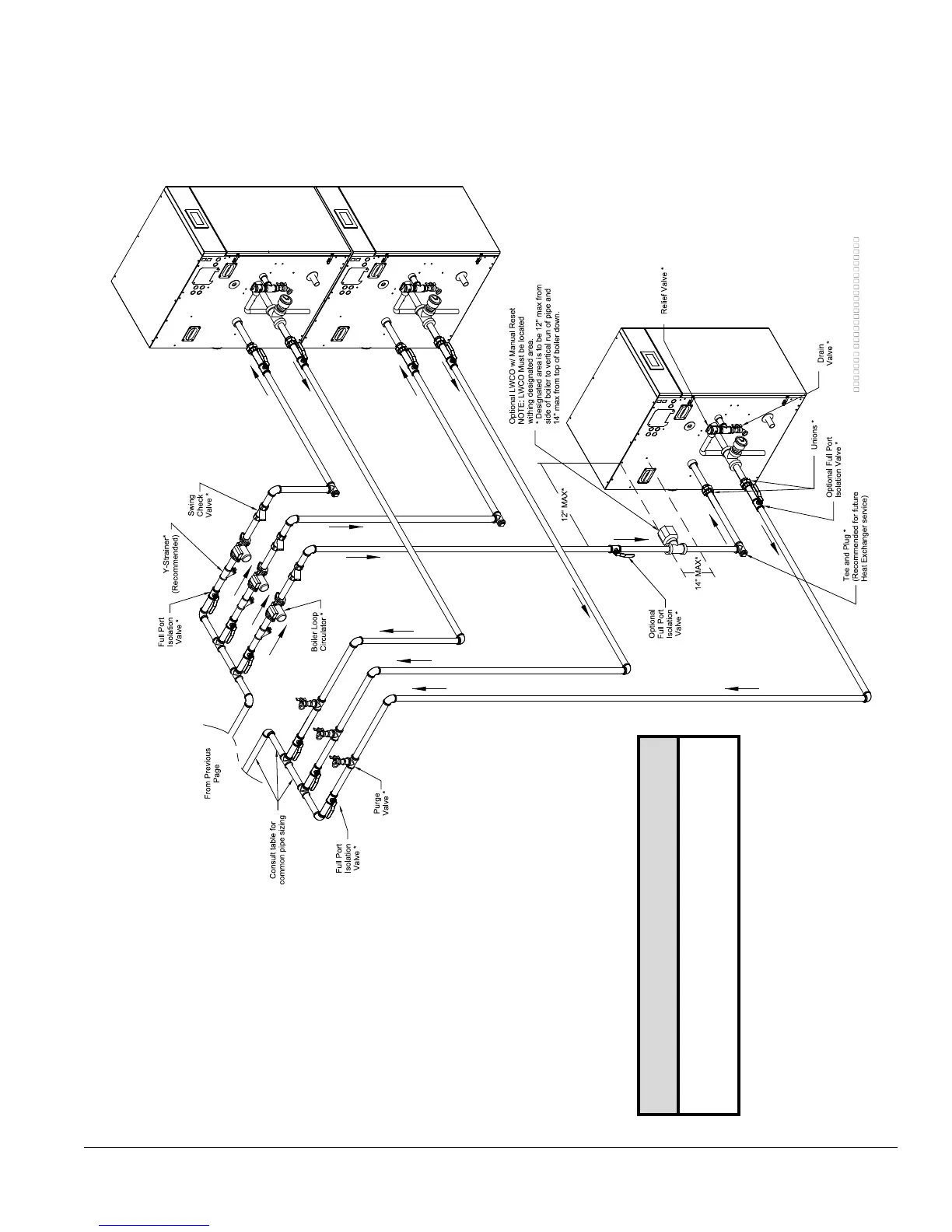
Figure 24B: Multiple Boiler Water Piping w/Domestic Hot Water Heater (Page 2 of 2)
VI. Water Piping and Trim E. Multiple Boiler Installation (continued)
NOTICE
Installing a low water cutoff in the system piping
of multiple boilers is strongly recommended and
may be required by Local Codes.

Table of Contents

Related product manuals