EasyManua.ls Logo

Alpine ALP080B - Alternate Multiple Boiler Water Piping W;Indirect Hot Water Heater

Alpine ALP080B
152 pages
Print Icon
To Next Page IconTo Next Page
To Next Page IconTo Next Page
To Previous Page IconTo Previous Page
To Previous Page IconTo Previous Page
Loading...
66 103448-07- 1/16
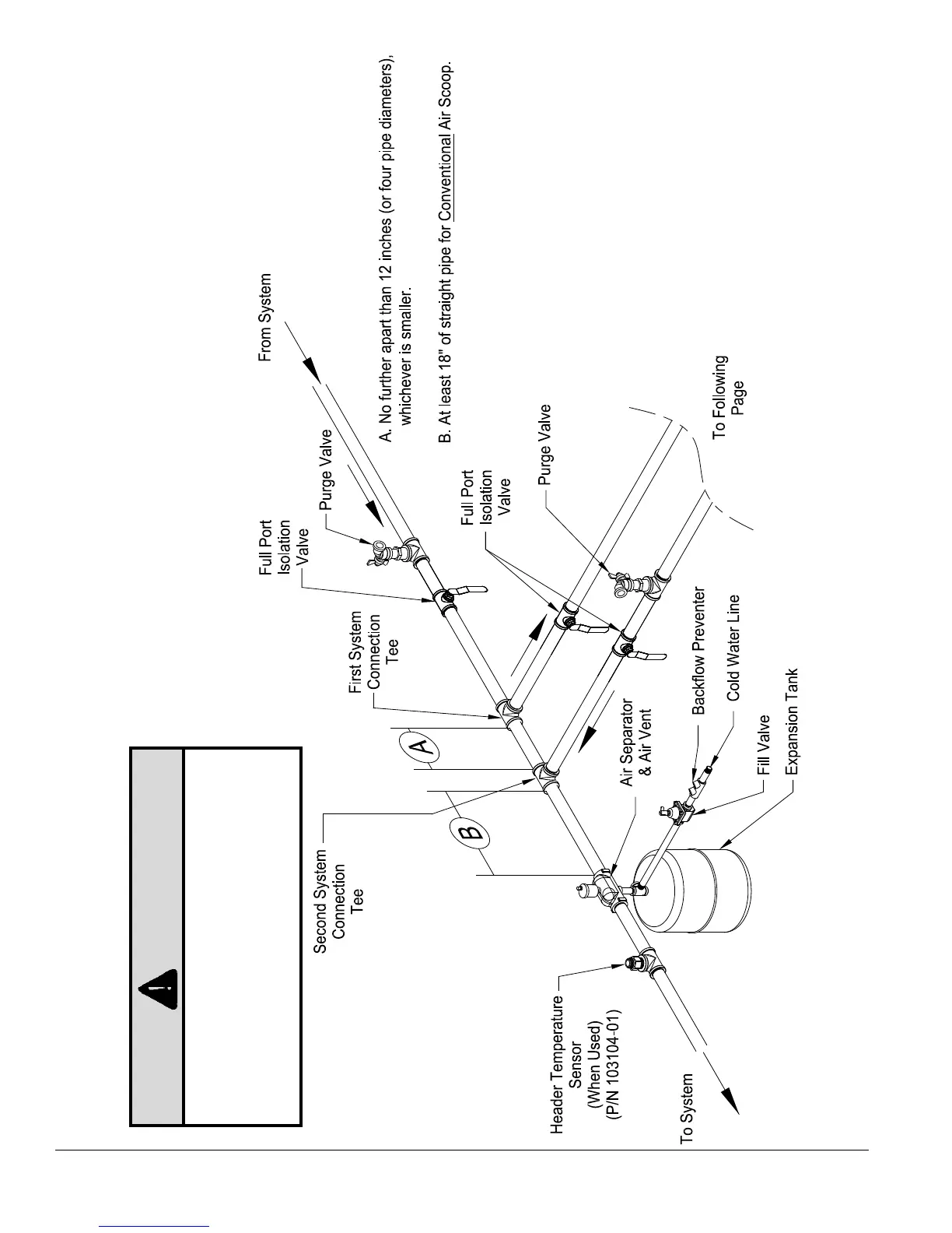
Figure 25A: Alternate Multiple Boiler Water Piping w/Indirect Domestic Hot Water Heater (Page 1 of 2)
CAUTION
It is the installers responsibility to select pumps
and boiler piping congurations that provide the
proper ow rates and performance for the boiler
and indirect water heater.
Refer to Table 13 for recommended Boiler Loop
Circulator.
VI. Water Piping and Trim E. Multiple Boiler Installation (continued)

Table of Contents

Related product manuals