EasyManua.ls Logo

Alpine CVA-1004R - Installation and Connections; Connecting Alpine Navigation System (NVE-N055 PS); Connecting Alpine Navigation System (NVE-N055 PV)

Alpine CVA-1004R
64 pages
Print Icon
To Next Page IconTo Next Page
To Next Page IconTo Next Page
To Previous Page IconTo Previous Page
To Previous Page IconTo Previous Page
Loading...
57-EN
Installation and Connections
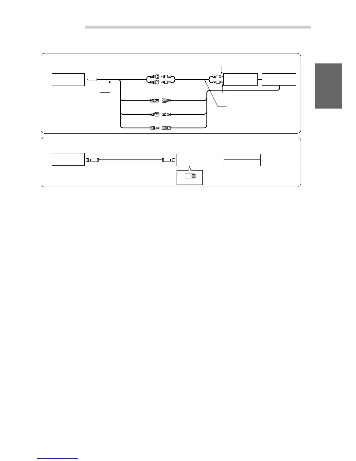
1 Rear/Subwoofer Output RCA Connectors
RED is right and WHITE is left.
2 RCA Extension Cable (Sold Separately)
3 RGB Cable (Included with Navigation)
4 System Switch
When connecting an equalizer or divider using Ai-
NET feature, place this switch in the EQ/DIV
position. When no device is connected, leave the
switch in the NORM position.
NOTE
Be sure turn the power off to the unit before changing the
switch position.
5 Ai-NET Connector
Connect this to the output or input connector of other
product equipped with Ai-NET.
6 Ai-NET Cable (Included with DVD video player)
7 RGB Input Connector
Connect to the RGB output terminal of the navigation
system.
8 AUX Video Input (AUX1) Connector
Connect the video output lead of a DVD video player
or DVD changer to this terminal.
9 RCA Extension Cable (Included with DVD Video
Player)
! AUX Audio Input (AUX1) Connectors
(not used for this system)
" Remote Control Output Lead (White/Brown)
Connect this lead to the remote control input lead.
This lead outputs the controlling signals from the
remote control.
# Ai-NET Cable (Included with CD Changer)
$ Ai-NET Cable (Included with DVD Changer)
% RCA Extension Cable (Included with DVD
Changer)
& RGB/NTSC Output Switch
To display the picture of Navigation system on the
external monitor, place the switch in the NTSC Output
position.
&
3
(NVE-N055PS)
(NVE-N055PV)
NTSC RGB
Connector Box Navigation
Navigation
Connector Box
To Guide output terminal
RCA Extension Cable
(Included with Navigation)
To Video output terminal
When connecting with NVE-N055PS of the Alpine's Navigation System
When connecting with NVE-N055PV of the Alpine's Navigation System
REMOTE OUT
REMOTE IN
DISP CONT IN
GUIDE CONT IN
DISP CONT OUT
GUIDE CONT OUT
(White/Brown)
(Yellow/Red)
(White/Green)
(White/Brown)
(Yellow/Red)
(White/Green)
RGB Convertor Cable
KCE-030N (Sold Separately)
GUIDE IN
VIDEO IN
CVA-1004R
CVA-1004R

Table of Contents

Other manuals for Alpine CVA-1004R

Related product manuals