EasyManua.ls Logo

AMD Athlon 64 - System Block Diagram

AMD Athlon 64
76 pages
Print Icon
To Next Page IconTo Next Page
To Next Page IconTo Next Page
To Previous Page IconTo Previous Page
To Previous Page IconTo Previous Page
Loading...
Introduction
Page 1-5
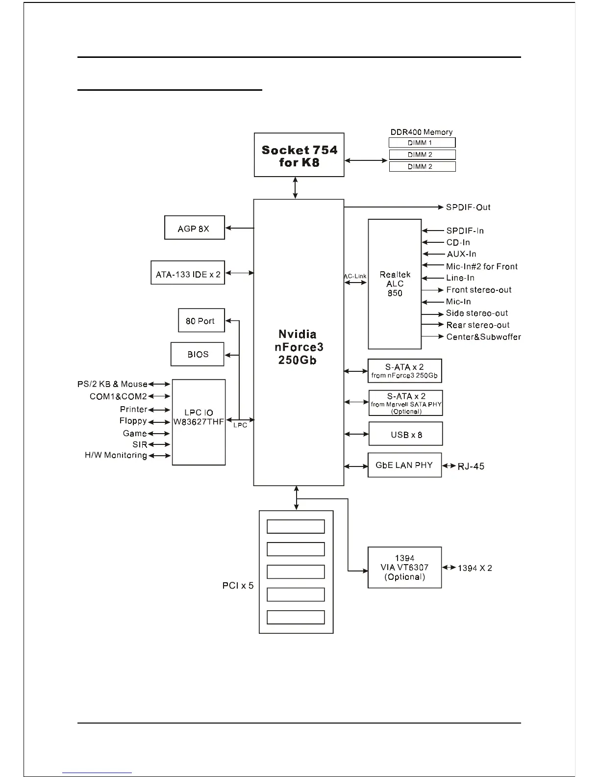
1-3 System Block Diagram

Related product manuals