EasyManua.ls Logo

Ancar SD300 - Auxiliary Keypad

Default Icon
36 pages
Print Icon
To Next Page IconTo Next Page
To Next Page IconTo Next Page
To Previous Page IconTo Previous Page
To Previous Page IconTo Previous Page
Loading...
USER MANUAL DENTAL UNIT - QS4-451-01 / SD 300 Scandinavian
17
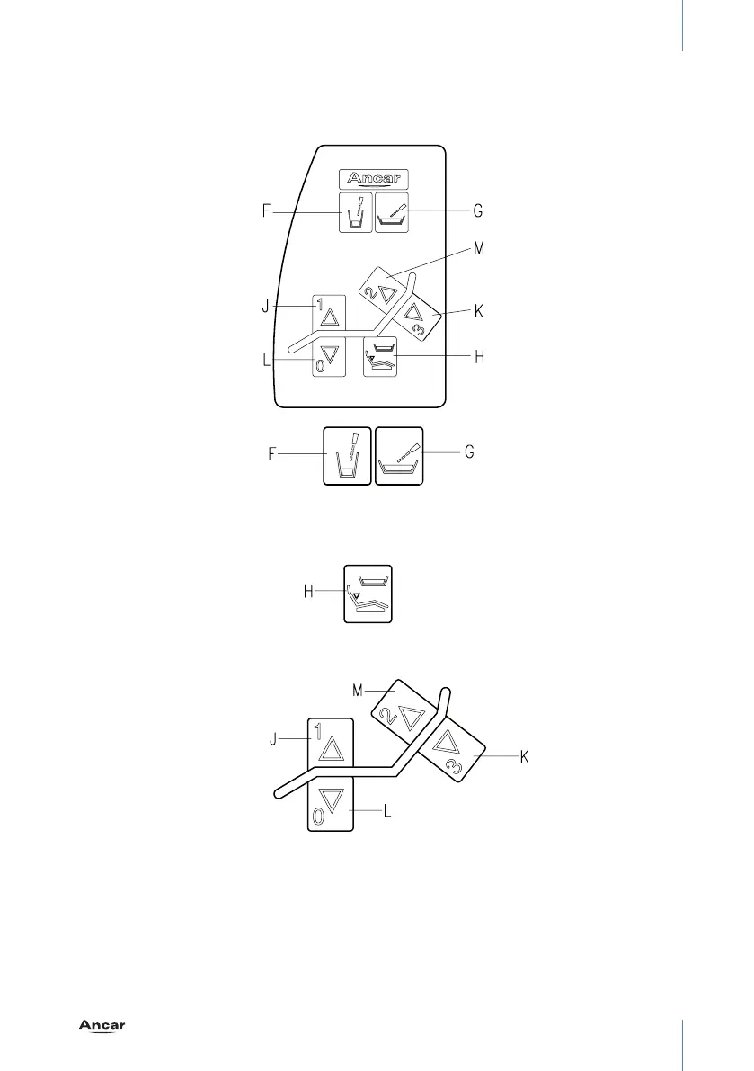
8.7.- Auxliary keypad
The auxiliary keypad (or assistant’s keypad) is located on the cannula support. (Fig. 11)
F. Cup tap and spittoon tap. Timed, 1s-20 secs.
It is possible to set up spittoon and cup tap to work together or separately.
G. Spittoon tap. Timed, 10-180 secs. Can be turned off pressing the same button.
H. Spittoon retorn position. Pressing this once, backrest and seat moves to the spittoon
position. Pressing twice, both returns to their original position.
J. Pressed continuously: Raise chair. Manual chair return.
Pressed once: Automatic movement -> Memory position 1.
K. Pressed continuously: Manually lower backrest
Pressed once: Automatic movement -> Memory position 3.
L. Pressed continuously: Lower chair manually.
Pressed once: Automatic movement -> Reset.
M. Pressed continuously: Manually raise backrest.
Pressed once: Automatic movement -> Memory position 2.
Indicators:
All functions have an associated message in the function activation display.
Fig. 11