EasyManua.ls Logo

Atlantic Nirvana RMGD-MK21 - Page 46

Atlantic Nirvana RMGD-MK21
Print Icon
To Next Page IconTo Next Page
To Next Page IconTo Next Page
To Previous Page IconTo Previous Page
To Previous Page IconTo Previous Page
Loading...
46
No conectar el hilo piloto (hilo negro) del aparato a tierra.
- Si el cable de alimentación estuviera deteriorado, deberá ser sustituido
por el fabricante, su servicio de postventa o una persona de cualificación
similar, con el fin de evitar cualquier peligro.
- Si el aparato piloto o pilotado está protegido por un diferencial de 30
mA (ej.: cuarto de baño), es necesario proteger la alimentación del hilo
piloto en este diferencial.
- Si quiere utilizar una protección de desconexión de carga, ésta no
debe cortar el suministro eléctrico de los radiadores puesto que existe
incompatibilidad con nuestros radiadores. Deterioraría el termostato.
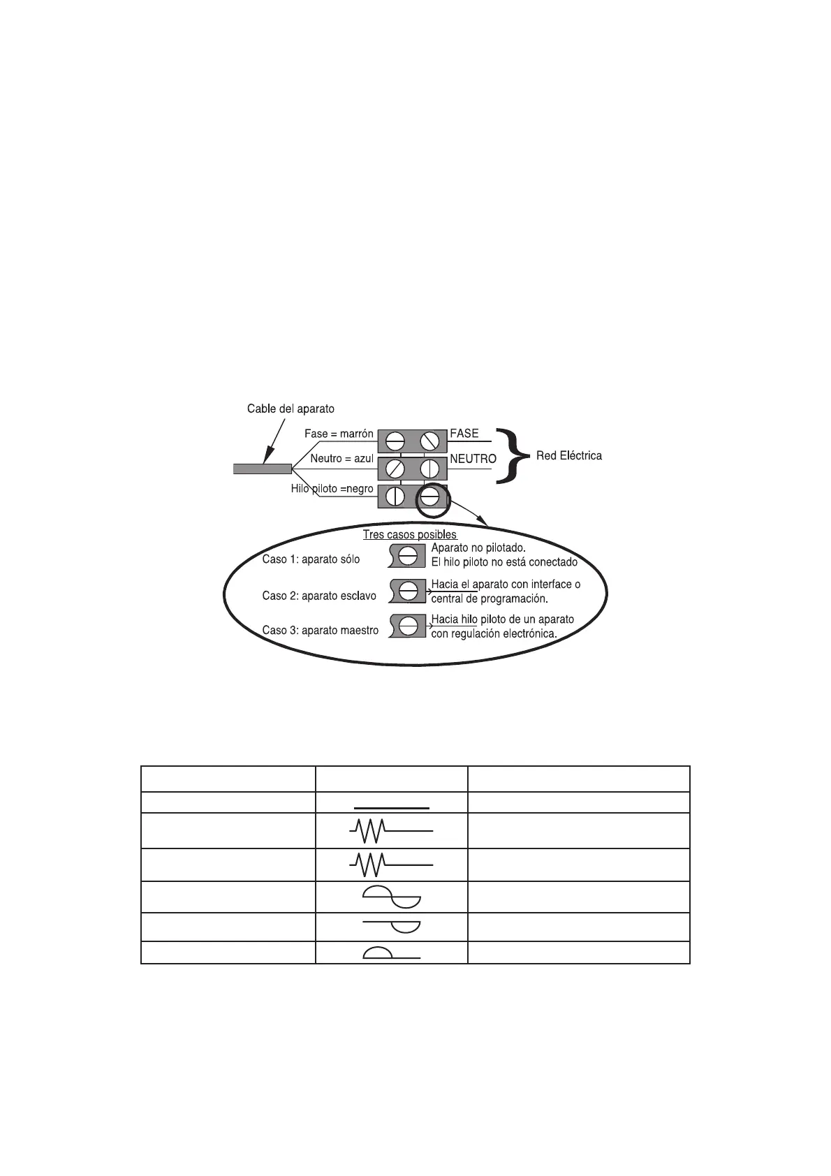
Esquema de conexión del radiador
Corte la electricidad y conecte los cables según el esquema siguiente:
Test de conexión del hilo piloto
Puede conectar el hilo piloto si su casa está equipada con una central de
programación, un programador o un equipo gestor.
En dicho caso, para comprobar la correcta transmisión de las órdenes de
programación, proceda a las comprobaciones siguientes:
Órdenes recibidas Señal a transmitir Modo obtenido
Ausencia de corriente
CONFORT
230 v durante 3 s
CONFORT -1°c
230 v durante 7 s
CONFORT -2°C
230V
ECO
-115 V negativo
ANTI-HIELO
+115 V positivo
DESCONEXIÓN DE CARGA

Table of Contents

Related product manuals