EasyManua.ls Logo

Atlantic Nirvana RMGD-MK21 - Page 66

Atlantic Nirvana RMGD-MK21
Print Icon
To Next Page IconTo Next Page
To Next Page IconTo Next Page
To Previous Page IconTo Previous Page
To Previous Page IconTo Previous Page
Loading...
66
- Se o aparelho piloto ou pilotado estiver protegido por um diferencial 30
mA (ex.: casa de banho), deve-se proteger a alimentação do fio piloto
desse diferencial.
- Se utilizar um limitador de carga, este último não deve cortar a
alimentação elétrica dos aquecedores porque existe incompatibilidade
com os nossos aquecedores. Isso deterioraria o termóstato.
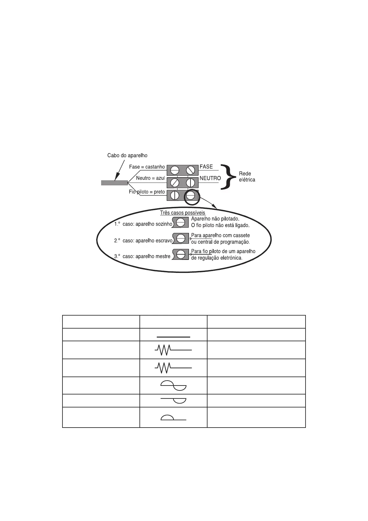
õÕi>Ê`iÊ}>XKÊ`Ê>µÕiVi`ÀÊ
Corte a alimentação elétrica e ligue os fios de acordo com o seguinte
esquema:
/iÃÌiÊ`iÊ}>XKÊ`ÊwÊ«Ì
Pode ligar o fio piloto se a sua casa estiver equipada com uma central de
programação, um programador ou um gestor de energia.
Neste caso, para verificar a transmissão correta das ordens de
programação, proceda às seguintes verificações:
Ordens recebidas Sinal a transmitir Modo obtido
Ausência de corrente
CONFORTO
230 v durante 3 s
CONFORTO -1°c
230 v durante 7 s
CONFORTO -2°C
230V
ECO
-115 V negativo
ANTIGELO
+115 V positivo
PARAGEM AQUECIMENTO
LIMITAÇÃO DE CARGA

Table of Contents

Related product manuals