EasyManua.ls Logo

Audio Note DAC Kit 4.1 - Page 7

Default Icon
79 pages
Print Icon
To Next Page IconTo Next Page
To Next Page IconTo Next Page
To Previous Page IconTo Previous Page
To Previous Page IconTo Previous Page
Loading...
Copyright © 2006-2011 AudioNote Kits
www.AudioNoteKits.com
audionotekits@rogers.com
Page 7
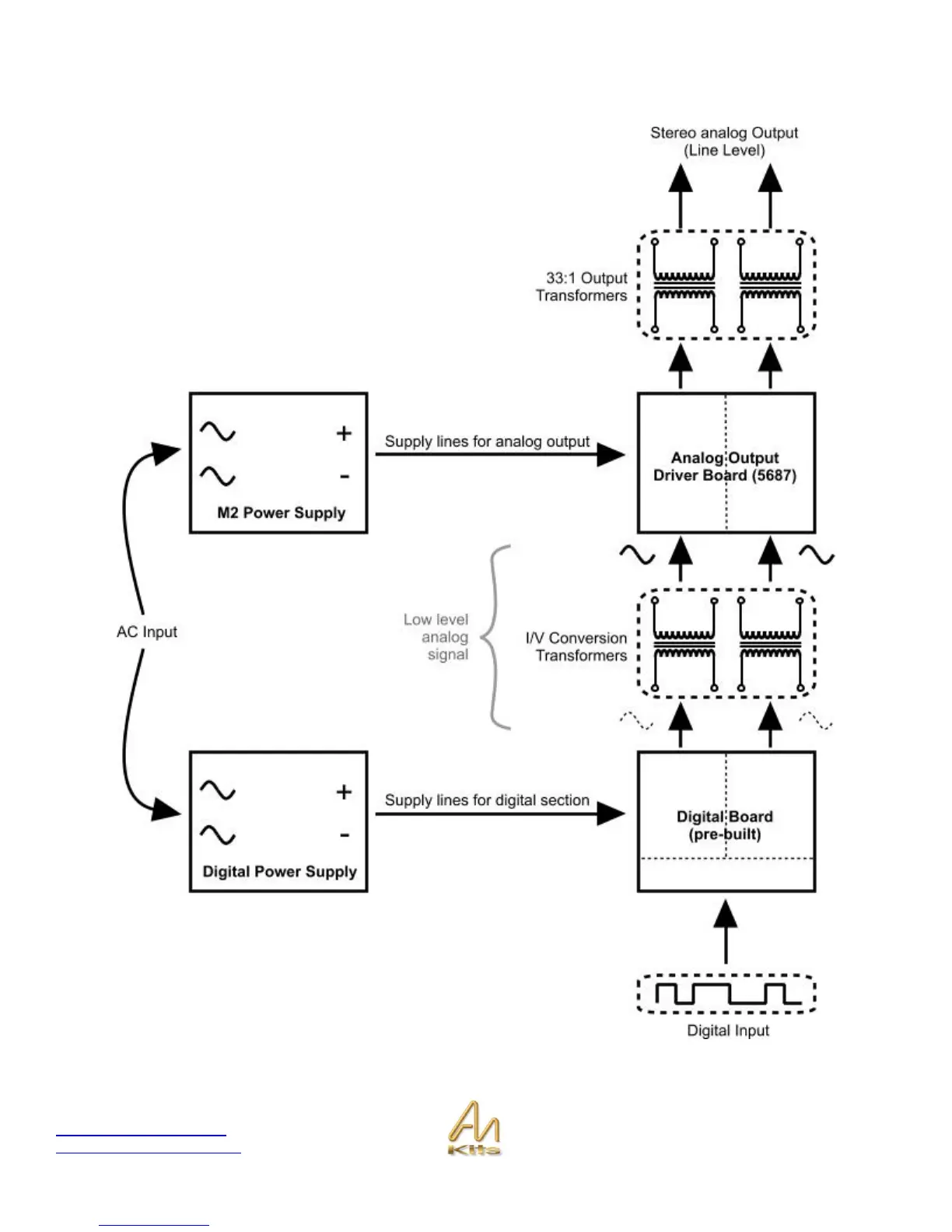
The graphic below shows the block diagram overview of how the DAC works:

Table of Contents

Related product manuals