EasyManua.ls Logo

Azbil MIZCON Plus - Page 17

Azbil MIZCON Plus
24 pages
Print Icon
To Next Page IconTo Next Page
To Next Page IconTo Next Page
To Previous Page IconTo Previous Page
To Previous Page IconTo Previous Page
Loading...
17 AB-6650
The settings on this page are available for all the models of MIZCON Plus series.
Continued from the previous page.
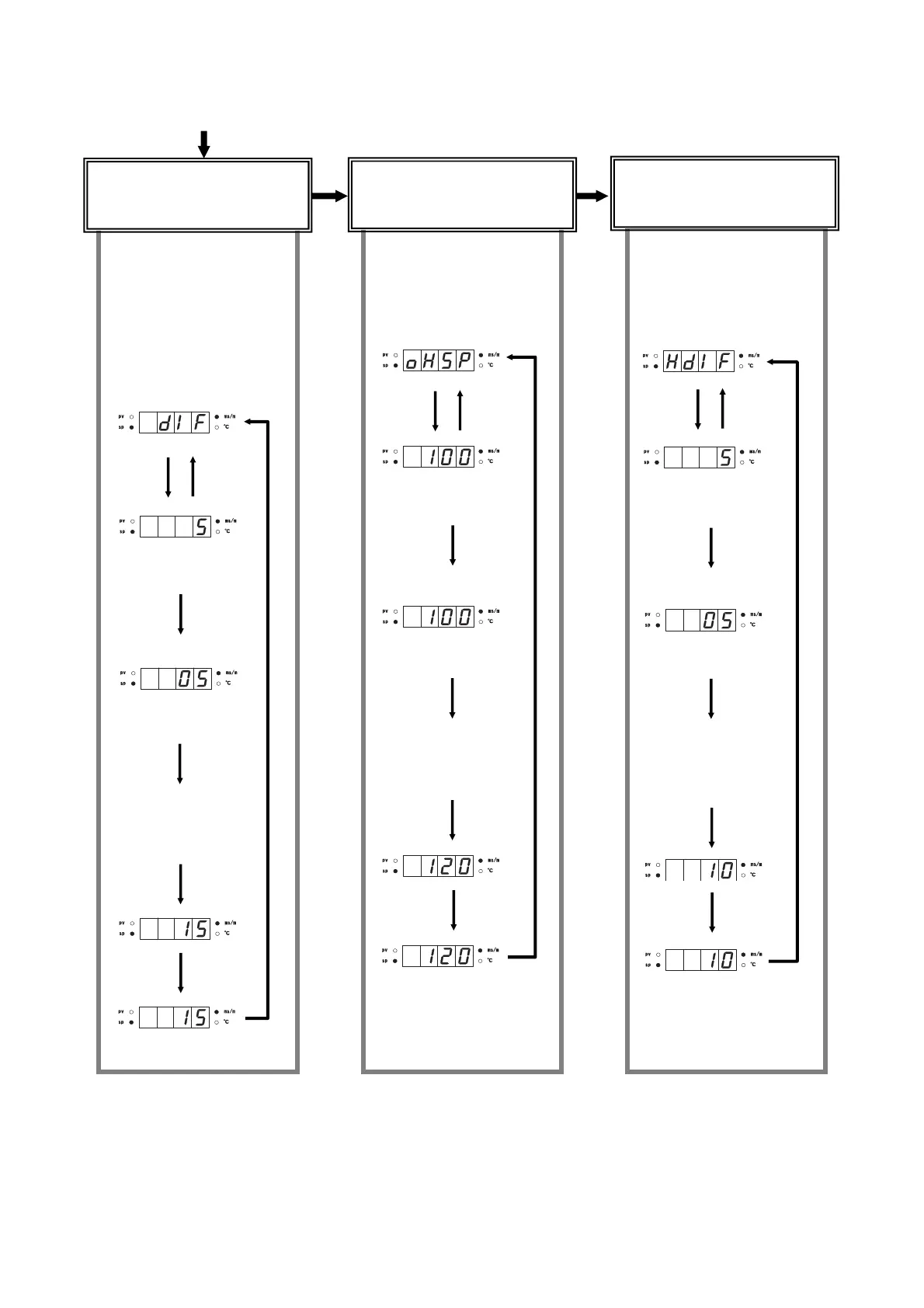
If differential (DIF) greater than
SP is entered, DIF equal to SP
is automatically set.
If DIF smaller than HDIF (high
limit alarm DIF) is entered, DIF
equal to HDIF is automatically
set regardless of DIF entered.
Conductivity DIF
setting menu
The DIF currently set
is displayed.
DIF setting mode
The first digit (‘0’ in this
case) flashes.
Select the digit to change
with [] key, and change
the value with [] and []
keys.
The DIF newly set is displayed.
Press
[mode]
key.
High limit alarm setpoint
(OHSP) smaller than SP is
invalid.
Conductivity OHSP
setting menu.
The SP currently set is
displayed.
SP setting mode
The first digit (’1’ in this
case) flashes.
Select the digit to change
with [] key, and change
the value with [] and []
keys.
The range newly set is displayed.
Press
[mode]
key.
High limit alarm differential
(HDIF) greater than DIF is
invalid.
Conductivity HDIF
setting menu
The HDIF currently set is
displayed.
HDIF setting mode
The first digit (‘0’ in this
case) flashes.
Select the digit to change
with [] key, and change
the value with [] and []
keys.
The range newly set is displayed.
Setting of blow-down DIF
: conductivity
(To change 5 to 15 mS/m)
Press
[enter]
key.
Press
[enter]
key.
Press
[]
key.
Press
[enter]
key.
Press [enter] key.
Setting of OHSP
: conductivity
(To change 100 to 120 mS/m)
Press
[enter]
key.
Press
[enter]
key.
Press
[]
key.
Press
[enter]
key.
Press [enter] key.
Setting of HDIF
: conductivity
(To change 5 to 10 mS/m)
Press
[enter]
key.
Press
[enter]
key.
Press
[]
key.
Press
[enter]
key.
Press [enter] key.

Related product manuals