EasyManua.ls Logo

Bailey PHOENIX - Remis Blinds; Cleaning; Remi Flair; Function

Default Icon
159 pages
Print Icon
To Next Page IconTo Next Page
To Next Page IconTo Next Page
To Previous Page IconTo Previous Page
To Previous Page IconTo Previous Page
Loading...
117
SOFT FURNISHINGS
The blind needs to be taken down from the
wall by unscrewing the 4 corner screws.
Lay the blind face down on a table with the
cross bars of both blinds meeting in the
middle.
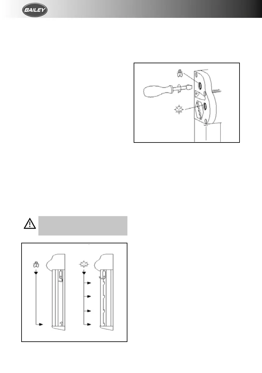
The black cords re-tension the fly screen
and the white cords re-tension the sun
screen.
The cords are fixed at either side with a
screw. Loosen this screw and gently pull the
cord 5mm tighter and repeat on the other
side ensuring the cross bar is level.
Test the tension. This process can be
repeated if necessary.
CLEANING
The plastic profiles can be cleaned with a
non-abrasive cleaner and damp soft cloth.
The blinds should only be dusted lightly with
a soft cloth.
ROLLER BLIND
FUNCTION
Both the sun screen and the fly screen are
stored at the top. The sun screen can be pulled
down and fixed at any of the stops in the side
supports. The fly screen can be pulled down
and fixed at the bottom of the side supports.
When released from the fixing points the blinds
will automatically retract.
Do not allow the blinds to
retract too quickly. Uncontrolled
retractions will lead to damage
RE-TENSIONING
If this is required on either blind the screw
head located on the side of the roller should
be turned once and the blind tested. If the
tension is still not correct further turns may
be required.
MAINTENANCE
The sun screen can be wiped with a non-
abrasive cleaner as can the cassette holder.
The fly screen can be cleaned with a soft
brush.
Neither blind should be closed (in the down
position) when the vehicle is being towed or in
storage for prolonged periods.

Table of Contents

Related product manuals