EasyManua.ls Logo

Balboa Instruments Poolux - Configuring the System: Heater Control

Balboa Instruments Poolux
76 pages
Print Icon
To Next Page IconTo Next Page
To Next Page IconTo Next Page
To Previous Page IconTo Previous Page
To Previous Page IconTo Previous Page
Loading...
49
Configuring the System: Heater Control
Heater
Add Device
Delete Device
Edit Device
Setup Devices
Filter Pump
Pool Light
Spa Light
Heater
Cleaner
Pool Fill
Assigned
Assigned
Assigned
Unassigned
Unassigned
Unassigned
Disable
Unassigned
External
Heater
Mode
Device Type
Maximum Speed
Output 1
Expansion Boxes
Device No.
Pool+Spa
Heater
Mode
Device Type
Maximum Speed
Output 1
Expansion Boxes
Device No.
Pool+Spa
Relay
On/Off
Internal
(3) Mode: Pool, Spa or Pool+Spa. Mode can be set to Spa Mode if you winterize your pool/spa combination.
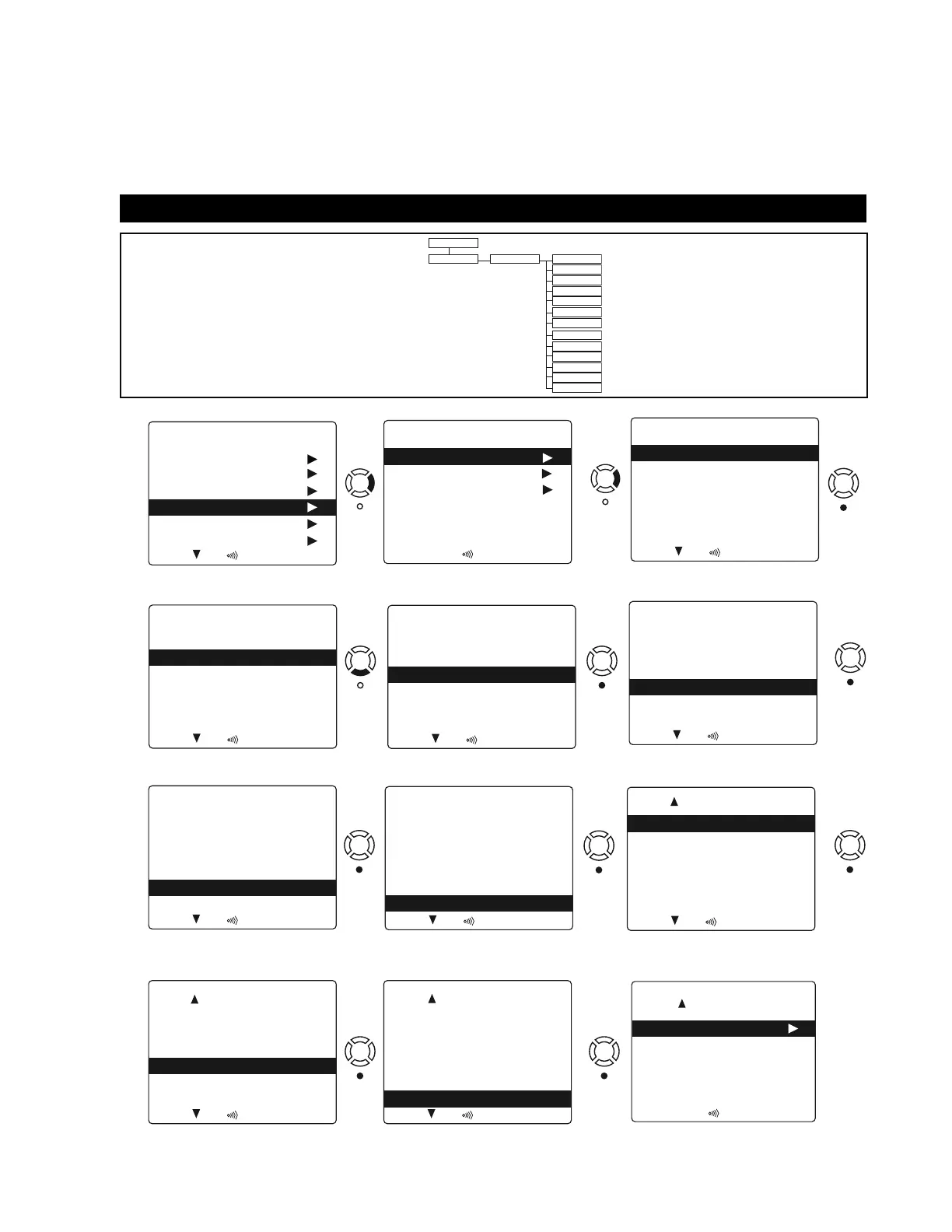
To configure a heater, choose Heater from the Setup Devices menu in Configuration Mode. Right Arrow to Add Device.
This brings you to the Heater Configuration Screen.
1
2
3
6
Add Device Mode
Device Type
Maximum Speed
Output 1
Expansion Boxes
Device No.
Output 2
Expansion Boxes
Device No.
Freeze Protect
Valves
Cooling Time
Rename Device
Heater
Setup Devices
CONFIGURING A HEATER AT-A-GLANCE
(10) Freeze protect & Valves Assignment: N/A, only used with Auxiliary devices; (11) Cooling Time: Set how long
the heater requires to cool before the pump shuts off. (12) Scrolling down, the last menu is Rename Devices.
(4) Device Type: Relay; (5) Maximum Speed: On/Off; (6) Output 1:
Heater
Mode
Device Type
Maximum Speed
Output 1
Expansion Boxes
Device No.
Pool+Spa
Relay
On/Off
Internal
Unassigned
Heater
Mode
Device Type
Maximum Speed
Output 1
Expansion Boxes
Device No.
Pool+Spa
Relay
On/Off
Internal
Unassigned
3
Heater
Output 2
Expansion Boxes
Device No.
Freeze protect
Valves
CoolingTime
External
Disable
Disable
30 Sec.
7
8
9
(7) Expansion Boxes: Unassigned, none needed; (8) Device No.s: 2-8, or 10 will match the relay number (No. 9 is reserved for
a Chlorine Generator); (9) Output 2: N/A, only needed when Expansion box is utilized
Heater
Output 2
Expansion Boxes
Device No.
Freeze protect
Valves
CoolingTime
External
Disable
Disable
30 Sec.
Heater
Output 2
Expansion Boxes
Device No.
Freeze protect
Valves
CoolingTime
External
Enable
Disable
7 min.
10
11
12
Heater
Rename Device
Disable
External
Heater
Mode
Device Type
Maximum Speed
Output 1
Expansion Boxes
Device No.
Pool+Spa
Relay
4
5
External
Heater
Mode
Device Type
Maximum Speed
Output 1
Expansion Boxes
Device No.
Pool+Spa
Relay
On/Off
CONFIGURING A HEATER

Table of Contents

Related product manuals