EasyManua.ls Logo

Balboa Instruments Poolux - Device Timeout

Balboa Instruments Poolux
76 pages
Print Icon
To Next Page IconTo Next Page
To Next Page IconTo Next Page
To Previous Page IconTo Previous Page
To Previous Page IconTo Previous Page
Loading...
64
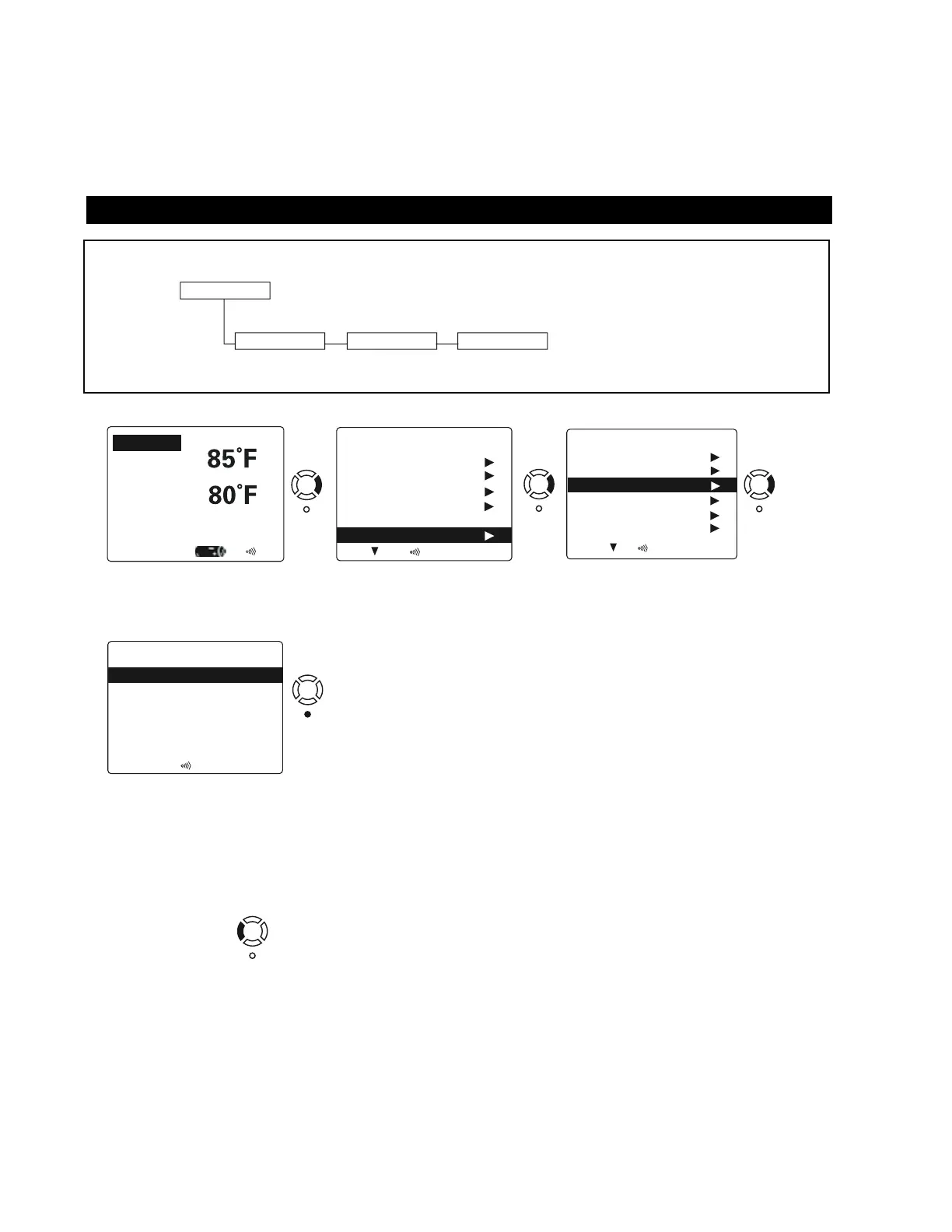
Device Timeout Pool Fill 30 minSetup
Main Menu
DEVICE TIMEOUT AT-A-GLANCE
Mode Pool
Pool Light
Spa Light
Filter Pump
Heater
Pool Temp
Air Temp
10/09/06 Pool Set 80F
Monday 12:42 PM
Alert / Error
(Display Screen)
1
3
Left Arrow to Exit.
Device Timeout
A Device Timeout is the length of time a device will run if turned on manually and not turned off.
2
(4) Device Timeout: Timeout options will appear in the Device Timeout list. Press Select, then Arrow Up or Down to change
the length of time to run, or Off. Select to save.
Device Timeout
Pool Fill 30 min
Main Menu
Device Control
Scenes / Timer
Heater
Chemistry
Mode Pool
Setup
Setup
Filter Cycles
Panel LEDs
Device Timeout
Rename Devices
Dolphin
Day and Time
Setup
4
DEVICE TIMEOUT

Table of Contents

Related product manuals