EasyManua.ls Logo

Bandit 490 - Page 31

Bandit 490
50 pages
Print Icon
To Next Page IconTo Next Page
To Next Page IconTo Next Page
To Previous Page IconTo Previous Page
To Previous Page IconTo Previous Page
Loading...
Bandit
Copyright 11/10 PAGE 31
MODEL 490
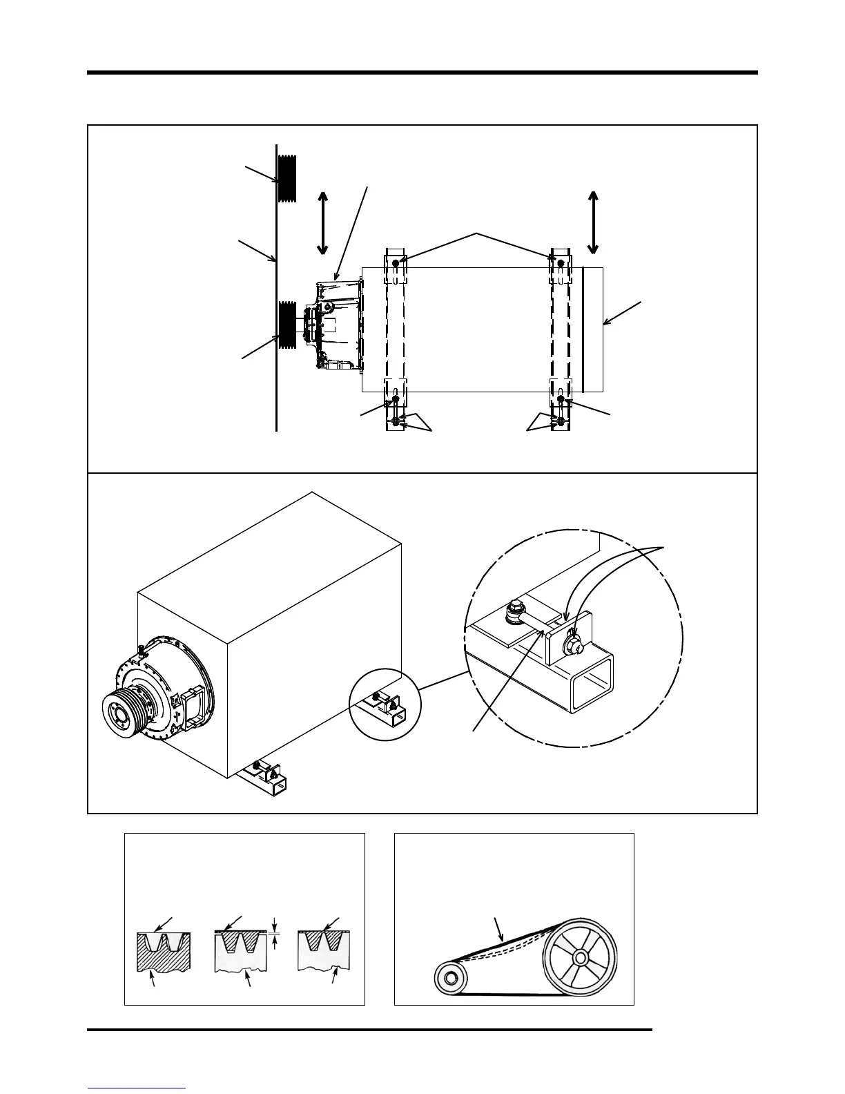
Worn or misaligned belts and sheaves in the power train
causes belt slippage, thus power loss. Keep the power
train working for you, not against you, by checking for
needed adjustment or replacement.
WORN BELT
WORN SHEAVE
GOOD BELT
BELT
BELT
SHEAVE SHEAVE
SHEAVE
BELT
Main Drive belts maximum of 1/4” deection
with 8 to 9 lbs. of force for engine powered machine
or 7 to 8 lbs. of force for PTO machine.
SPACE
MAINTENANCE SECTION
BELT TENSION
FIGURE 1
RADIATOR END
OF ENGINE
CLUTCH END
OF ENGINE
ENGINE
MOUNTING BOLTS
ENGINE
MOUNTING
BOLTS
CHECK SHEAVE
ALIGNMENT WITH
STRAIGHT EDGE
OR STRING
ENGINE
SHEAVE
CHIPPER
SHEAVE
POSITIONING
JAM NUTS
ENGINE
MOUNTING
BOLTS
ENGINE
ADJUSTER
POSITIONING
JAM NUTS
FIGURE 2

Related product manuals