EasyManua.ls Logo

barfield DC400A - 1900 C; 1900 D (UC & UD) Individual Probes

Default Icon
58 pages
Print Icon
To Next Page IconTo Next Page
To Next Page IconTo Next Page
To Previous Page IconTo Previous Page
To Previous Page IconTo Previous Page
Loading...
61-101-00802.EF2 (REV. G) CH. 2
January 7, 2015 Page 10 of 44
INSULATION TEST
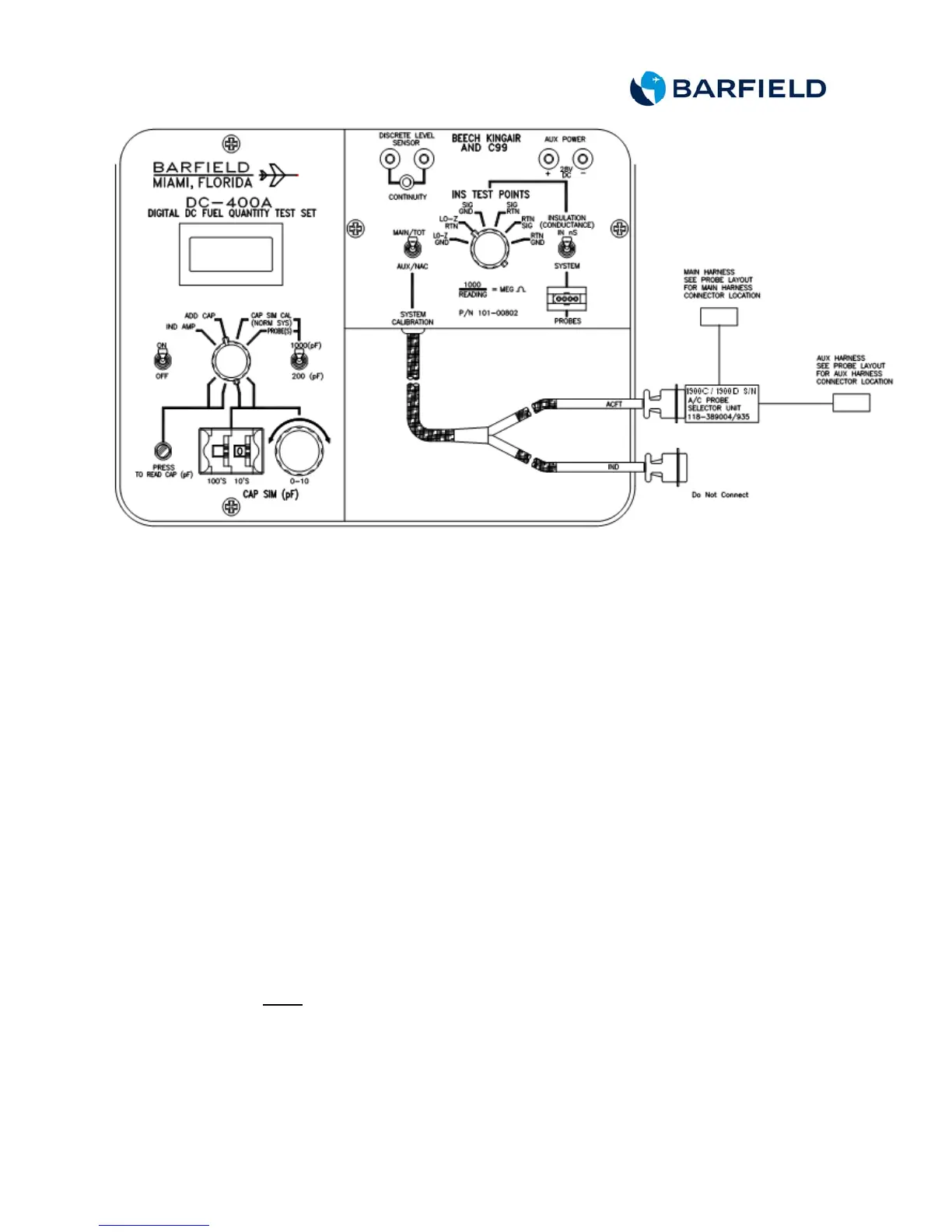
Figure 4 1900C / 1900D (UC & UD) Individual Probes
D. Test Procedure
(1) Rotate the 1900/1900C or 1900D Probe Selector Unit switch to the
ALL position.
(2) Set the T/S ON/OFF switch to ON.
(3) Allow time for the T/S display to stabilize. Sometimes the reading
never completely stabilizes. If the reading is in the acceptable range
after 30 seconds it should be considered OK.
(4) Verify that the T/S display reading is less than 50 nS. (Refer to Table
1).
(5) Rotate the INS TEST POINTS switch through remaining positions
and verify that each reading is less than 50 nS EXCEPT when the
switch is at the SIG/RTN position.
(6) With the switch in the SIG/RTN position, the T/S reading with be an
“overrange” of 1.
Note: If ALL insulation is out of tolerance, each individual Probe
must be tested.

Other manuals for barfield DC400A

Related product manuals