EasyManua.ls Logo

barfield DC400A - Figure System Capacitance Test Connector Setup

Default Icon
58 pages
Print Icon
To Next Page IconTo Next Page
To Next Page IconTo Next Page
To Previous Page IconTo Previous Page
To Previous Page IconTo Previous Page
Loading...
61-101-00802.EF2 (REV. G) CH. 2
January 7, 2015 Page 13 of 44
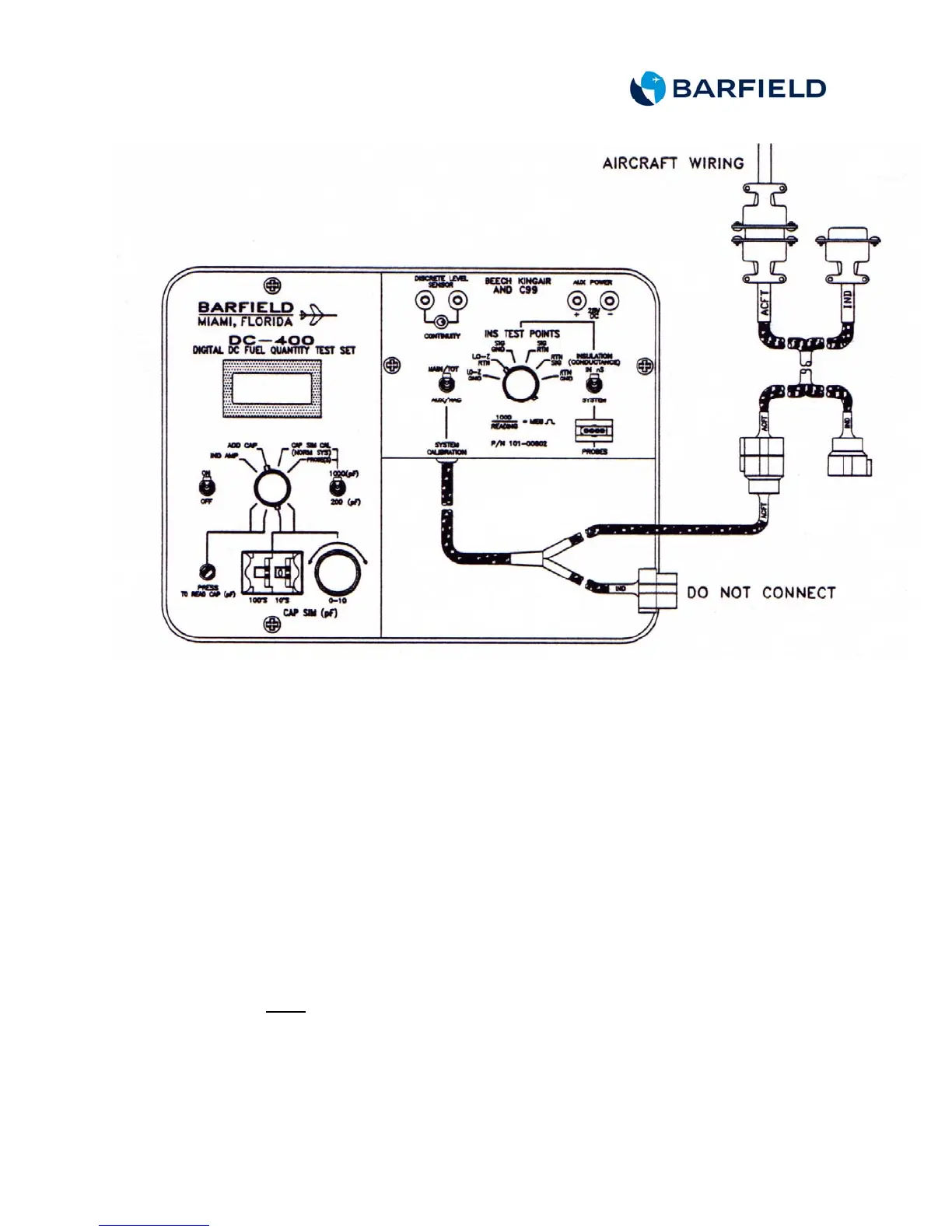
Figure 6 Figure System Capacitance Test Connector Setup
(2) Connect the test set ACFT connector to the aircraft wiring plug
removed that is from indicator.
(3) Do not connect the test set IND connector.
D. Test
(1) Set the test set ON/OFF switch to ON.
(2) If testing aircraft S/N’s UC or UE, set the aircraft fuel panel select
switch to MAIN or TOTAL.
(3) Push and hold the test set PRESS TO READ CAP (pF) pushbutton.
(4) Verify that the tanks’ value is within tolerances as specified in Table 2
(Tank Capacitance Empty) or Table 3 (Tank Capacitance Full).
Note: The following values are valid as of this publication’s release
date and provided as reference. Refer to the Aircraft
Maintenance Manual for actual test values.

Other manuals for barfield DC400A

Related product manuals