EasyManua.ls Logo

Basic American Zenith 7000 - Standard Mattress Retainer Installation & Positions; Head Retainer Installation; Foot-End Retainer Installation; Retainer Positions

Basic American Zenith 7000
34 pages
Print Icon
To Next Page IconTo Next Page
To Next Page IconTo Next Page
To Previous Page IconTo Previous Page
To Previous Page IconTo Previous Page
Loading...
Basic American Medical Products, a division of GF Health Products, Inc. www.grahamfield.com 999-0843-190A Service Manual
11
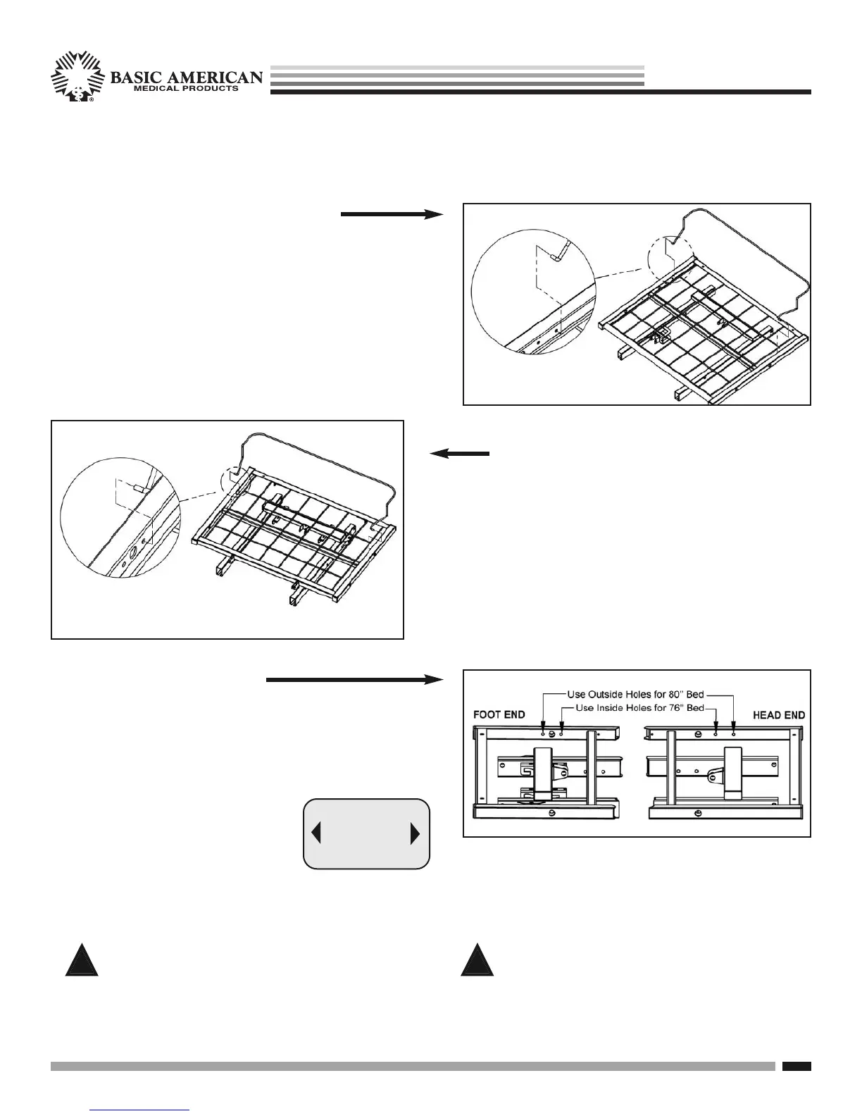
STANDARD MATTRESS RETAINER INSTALLATION & POSITIONS
(IMPORTANT: MUST MATCH HEAD/FOOTBOARD AND WALLSAVER POSITIONING)
1. HEAD RETAINER INSTALLATION
• Position retainer with curved end toward headboard.
• Squeeze ends of the retainer toward the inside of
the bed and lower between the head deck rails and
first outside grid wires.
Align the ends of retainer with small holes on the
inside of deck rails and slowly release. The bottom
angle of the retainers will rest on top of the deck.
2. FOOT-END RETAINER INSTALLATION
• Position retainer with curved end toward footboard.
• Squeeze ends of the retainer toward the inside of
the bed and lower between the foot deck rails and
first outside grid wires.
Align the ends of retainer with small holes on the
inside of deck rails and slowly release. The bottom
angle of the retainers will rest on top of the deck.
3. RETAINER POSITIONS
FOR 80” BEDS: Use outside small holes.
See sample at right.
FOR 76” BEDS: Use inside small holes.
See sample at right.
USE LOCATION STICKER ON
TOP, RIGHT SIDE OF HEAD
& FOOT DECKS AS A GUIDE
ALL POSITIONS OF BOARDS,
WALLSAVERS, AND RETAINERS
MUST MATCH FOR PROPER BED OPERATION.
!
Be sure to use a mattress that is properly sized to fit
the sleep deck, which will remain centered on the
deck relative to State and Federal Guidelines. Use
of an improperly fitted mattress could result in injury
or death.
!
Use a properly sized mattress in order to minimize
the gap between the side of the mattress and assist
devices. This gap must be small enough to prevent
resident/patient from getting his/her head or neck
caught in this location.
80” 76”
!;
 
 
!;
  
  
ZENITH SERIES

Table of Contents

Related product manuals