EasyManua.ls Logo

Berchtold CHROMOPHARE D 650plus - Page 43

Berchtold CHROMOPHARE D 650plus
98 pages
Print Icon
To Next Page IconTo Next Page
To Next Page IconTo Next Page
To Previous Page IconTo Previous Page
To Previous Page IconTo Previous Page
Loading...
43
CHROMOPHARE® D 650plus, D 530plus, D 500plus, D 650, D 530, D 500 Service Manual (E)
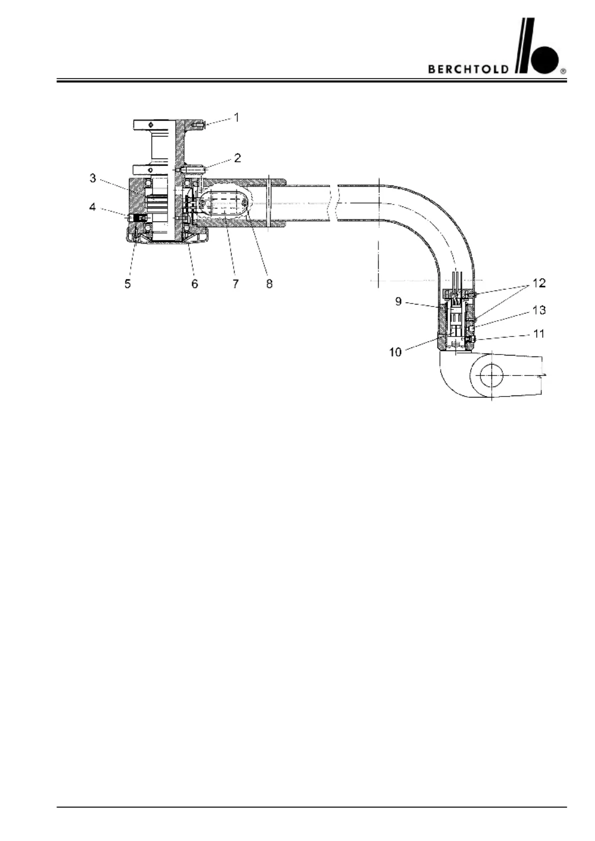
15 x Hexagon socket countersunk head screw,
part no. 284, minimal torque 23 Nm
82 x cross recessed countersunk head screw,
part no. 235
2Locking pin, part no. 641749Male sliding contact, part no. 65241
3Sliding contact, part no. 6418610Female sliding contact, part no. 20002
4Brake screw, part no. 3882111Brake screw, part no. 64103
5Cross recessed oval-head screw,
part no. 277
and distance sleeve, part no. 64783
12Cross recessed oval-head screw,
part no. 45396
6Cover, part no. 6417113Mortise screw, part no. 64126
7Contact block for sliding contacts, part no. 39693

Table of Contents

Related product manuals