EasyManua.ls Logo

Berchtold CHROMOPHARE D 650plus - CHROMOPHARE D 500 Plus, D 500 (Classic Cardanic); CHROMOPHARE D 500 Plus, D 500 (Flat Cardanic); CHROMOPHARE D 530 Plus;530 Plus, D 530;530 (Classic Cardanic)

Berchtold CHROMOPHARE D 650plus
98 pages
Print Icon
To Next Page IconTo Next Page
To Next Page IconTo Next Page
To Previous Page IconTo Previous Page
To Previous Page IconTo Previous Page
Loading...
64
CHROMOPHARE® D 650plus, D 530plus, D 500plus, D 650, D 530, D 500 Service Manual (E)
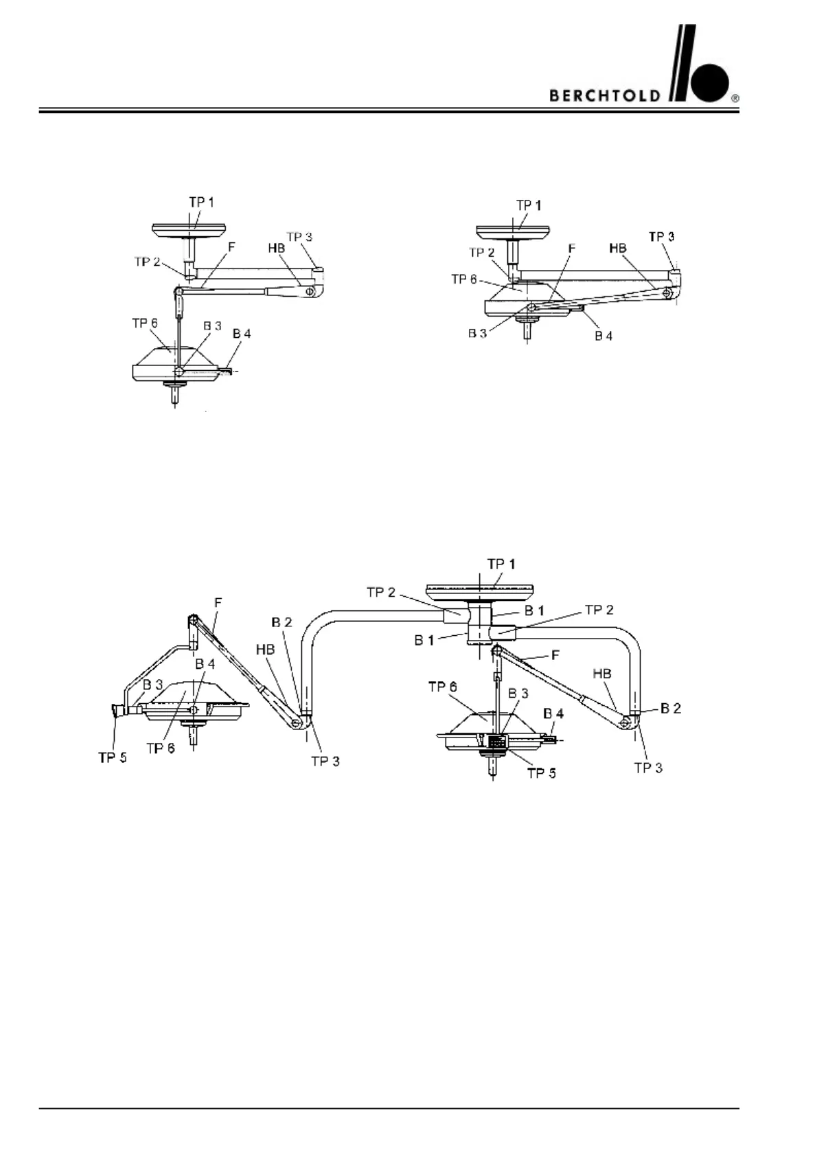
9.3.7CHROMOPHARE® D 500plus, D 500
(classic cardanic)
9.3.8CHROMOPHARE® D 500plus, D 500
(flat cardanic)
BBrake screwFSpring adjustment, see page 65 - 66
TPTest points, see page 59HBHeight movement, see page 66
9.3.9 CHROMOPHARE® D 530plus/530plus, D 530/530 (classic cardanic)
BBrake screwFSpring adjustment, see page 65 - 66
TPTest points, see page 59HBHeight movement, see page 66

Table of Contents

Related product manuals