EasyManua.ls Logo

Bernina Electronic 1008 - Page 60

Bernina Electronic 1008
61 pages
Print Icon
To Next Page IconTo Next Page
To Next Page IconTo Next Page
To Previous Page IconTo Previous Page
To Previous Page IconTo Previous Page
Loading...
MASTERING YOUR BERNINA
®
1/10/02
Electronic 1008/60
BERNINA
®
Electronic 1008
MASTERING
YOUR
BERNINA
®
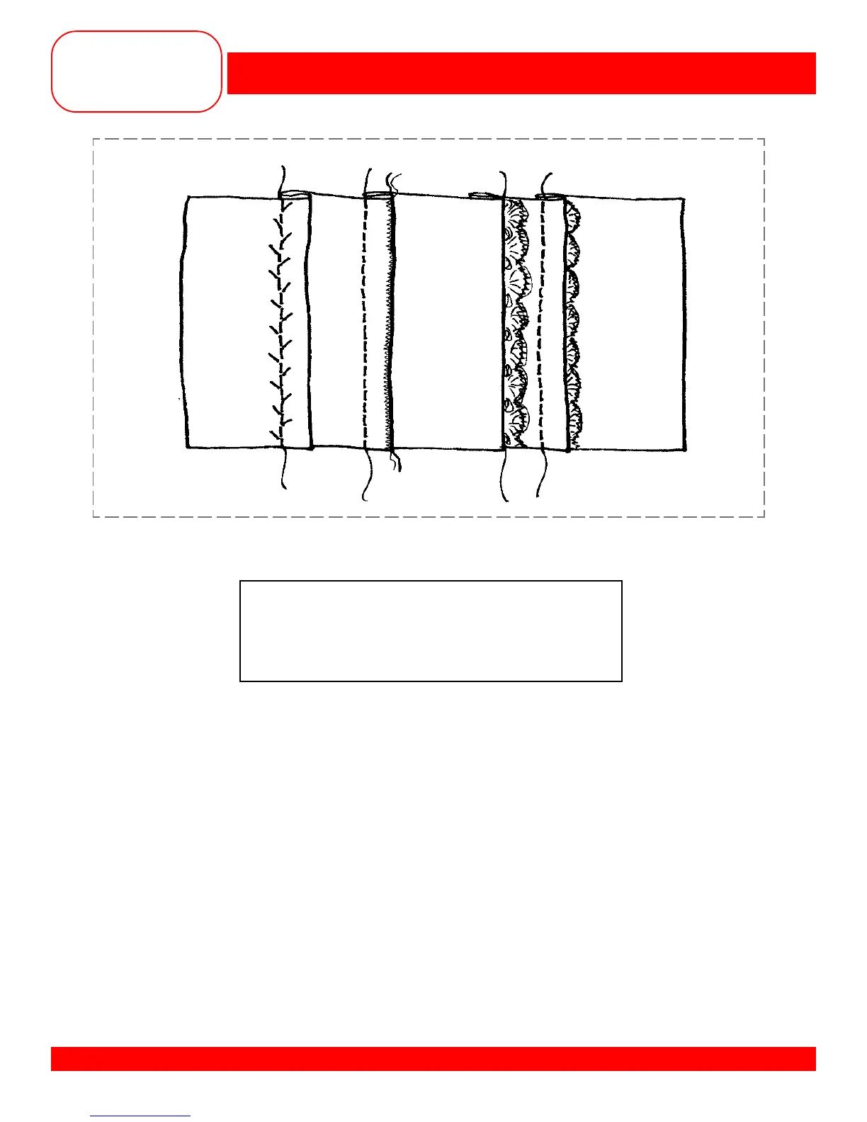
DECORATIVE TUCKS
• Draw 4 lines about ¼” apart, across the width of the fabric.
• On the first line - create a tuck, about ¼”, using a decorative stitch.
• On the second line - sew a ¼” tuck using a metallic thread with a straight stitch.
• Cord the edge of this tuck with a metallic cord as in Section C - Corded Edge.
• On the third line create an inverted tuck with lace inserted into it.
- Place the edge of the lace against the drawn line, on the right side, and baste in place.
- Fold the fabric over the lace and press.
- Using Edgestitch Foot #10, place the pressed fold against the left side of the center blade -
move needle position to the left enough to catch the lace; stitch to the left of the basting line.
- Open out and press again.
• On the fourth line insert the lace with the tuck.
- Fold wrong sides together and press the last tuck.
- Place the edge of the lace in from the fold a scant ¼”.
- Using Foot #37 - the ¼” foot - stitch a tuck, catching the lace as you sew.
- Press the tuck toward the lace.
Fabric: Medium weight cotton, 8” x 4”
Needle: 80/12 Embroidery
Thread: 30 wt. Cotton Embroidery,
Metallic, and matching cord
Presser Foot: Depends on technique

Related product manuals