EasyManua.ls Logo

Bonnet OPTIMUM 700 - 3 Installation: Putting in Place

Default Icon
70 pages
Print Icon
To Next Page IconTo Next Page
To Next Page IconTo Next Page
To Previous Page IconTo Previous Page
To Previous Page IconTo Previous Page
Loading...
Page
54
3BE390580NI – 07/07
BONNET CIDELCEM GRANDE CUISINE
Siége social:
Rue des Frères Lumière - Z.I Mitry Compans
77292 MITRY MORY Cedex
3. INSTALLATION: PUTTING IN PLACE
3.1 READY-TO-INSTALL TOPS
3.1.1 ASSEMBLY OF CANTILEVER APPLIANCES TO A WALL
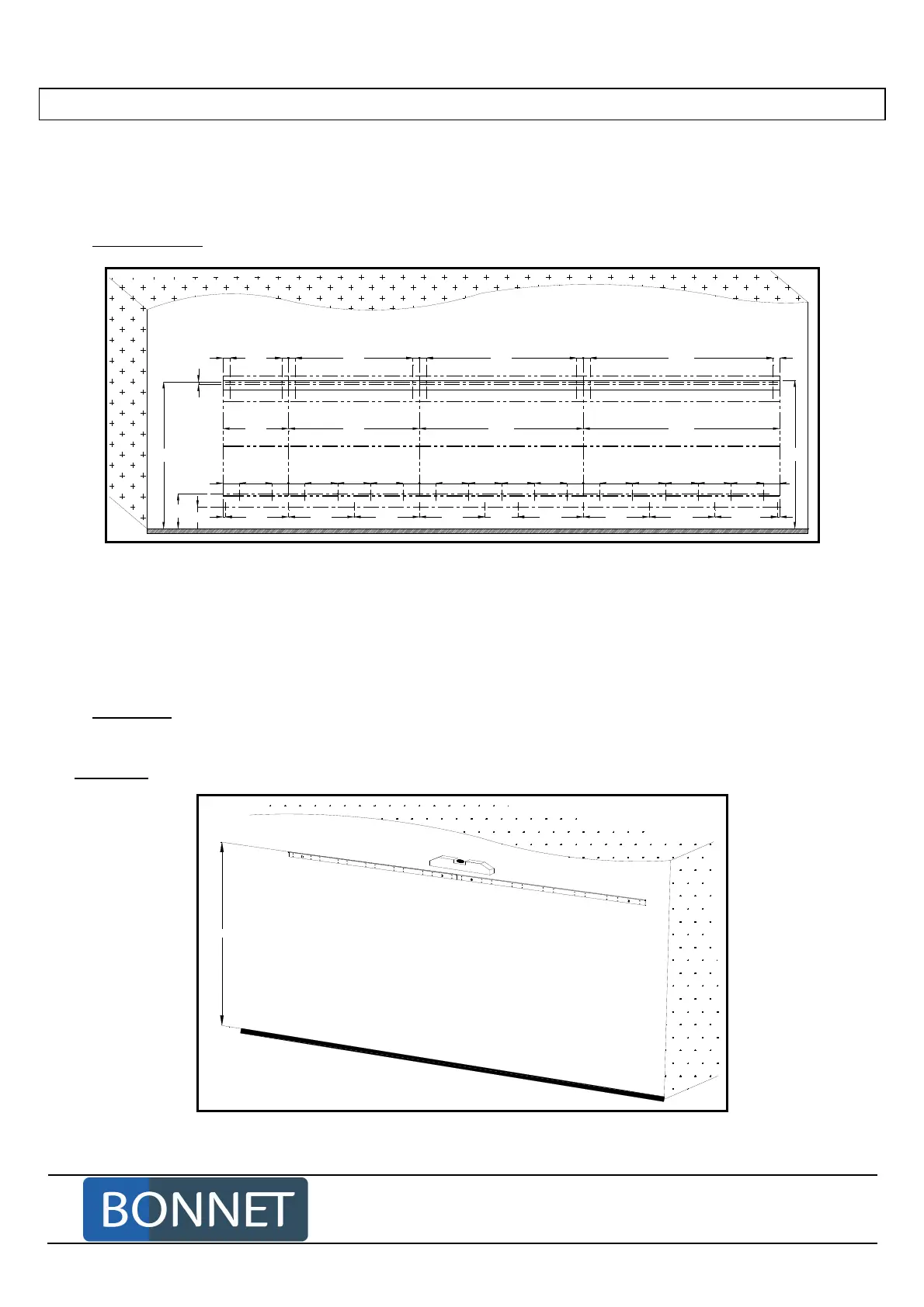
Drilling pattern
892
16
212
131
400 800 1000 1200
41
4141 4141 4141 41
100 100
200
100
200 200 200
100100
200 200 200 200
100100
200 200 200 200 200
100
1118918718318
15
385 400 400 400 200 400 400 400 385
15
902
The fixation of a bracket must support a tensile strength of 400 daN (2 brackets for a 400, 800, 1000 or
1200 wide appliance).
It is recommended, for the fixation of cantilever appliances to a concrete wall, to observe the following points:
* The reinforced concrete of the wall must be at least of quality 23 MPA (DTU).
* Use HSA-R M 8x75 plugs or equivalent (2 for cooking tops and 6 for cooking units).
* For the plugs above, each hole must be drilled to diameter 8 mm and, at least, 65 mm deep.
Procedure
- Fix the template supplied by two 5 screws to the wall. Check level.
Warning: Check this template is really horizontal.
902

Other manuals for Bonnet OPTIMUM 700

Related product manuals