EasyManua.ls Logo

Bosch MAP 5000 - Page 30

Bosch MAP 5000
88 pages
Print Icon
To Next Page IconTo Next Page
To Next Page IconTo Next Page
To Previous Page IconTo Previous Page
To Previous Page IconTo Previous Page
Loading...
30 en | Installation MAP 5000
2018.08 | 23 | F.01U.168.332 Installation manual Bosch Sicherheitssysteme GmbH
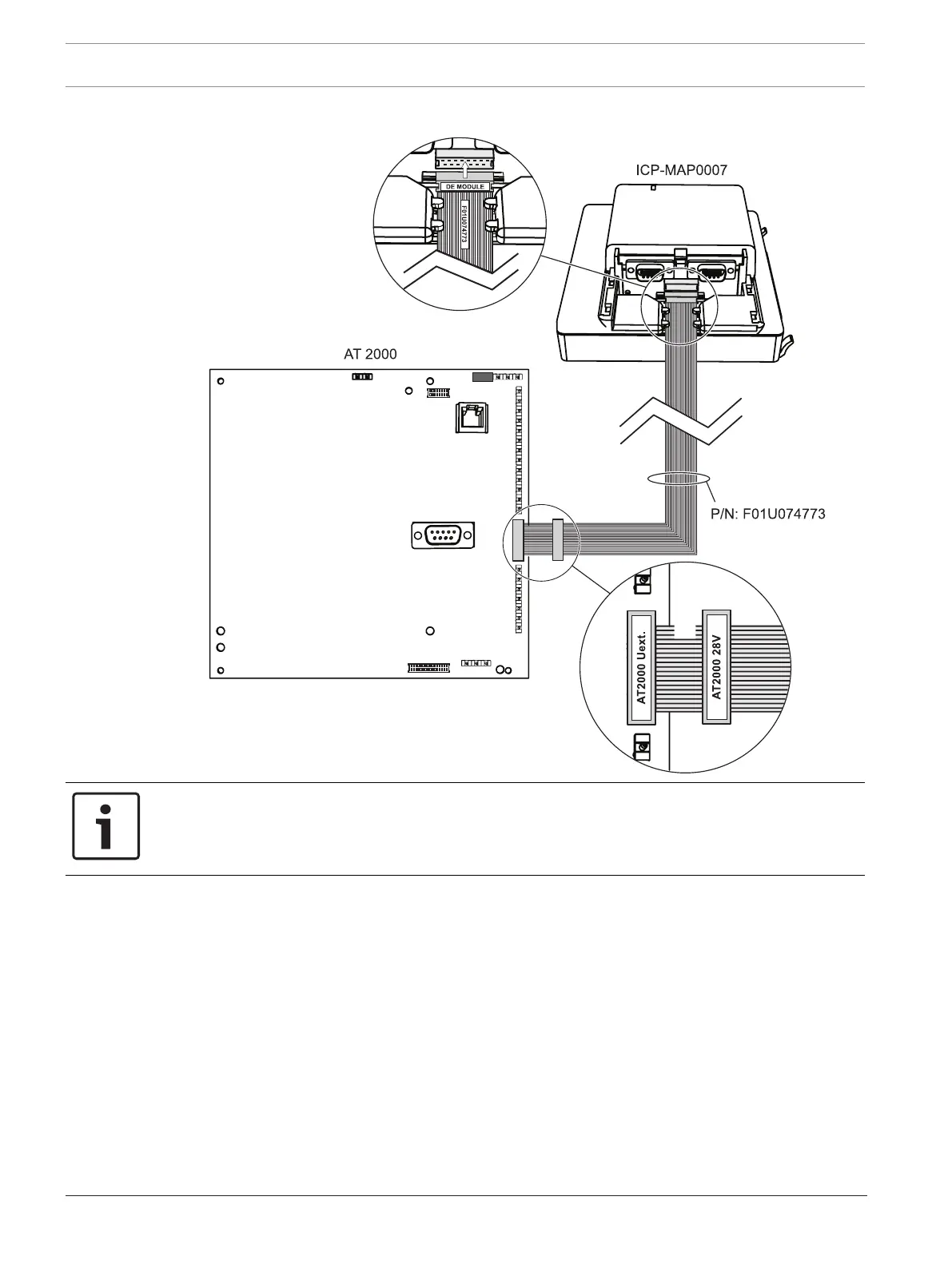
Analog AT 2000 to DE module connections
Notice!
The two trouble inputs are automatically configured to "Communicator Trouble" and "Negative
Acknowledgment" when "Communicator" is selected in the Remote Programming Software
(RPS).

Table of Contents

Related product manuals