EasyManua.ls Logo

Bosch MAP 5000 - Installing and Connecting the Tamper Switch

Bosch MAP 5000
88 pages
Print Icon
To Next Page IconTo Next Page
To Next Page IconTo Next Page
To Previous Page IconTo Previous Page
To Previous Page IconTo Previous Page
Loading...
MAP 5000 Connections | en 51
Bosch Sicherheitssysteme GmbH Installation manual 2018.08 | 23 | F.01U.168.332
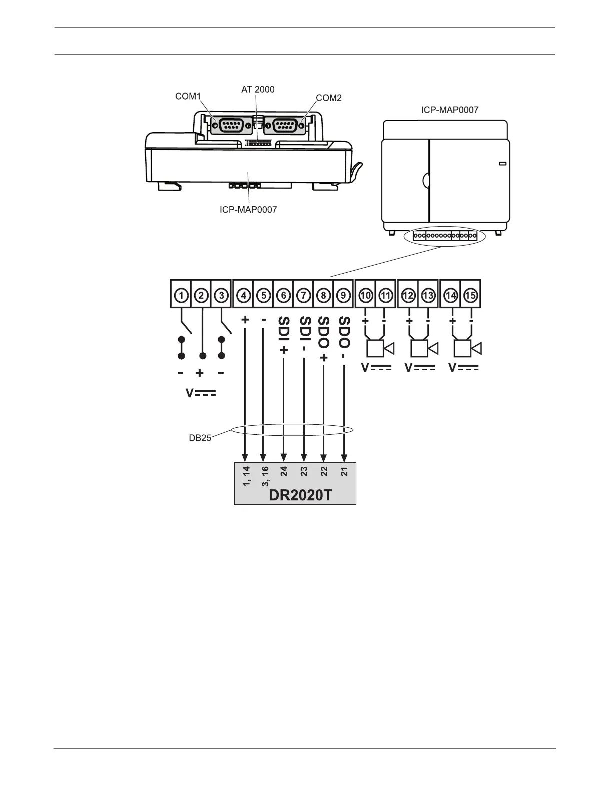
Connecting the DE module
3.7 Installing and connecting the tamper switch
Install the ICP-MAP0050 control panel enclosure tamper switch in the ICP-MAP0111 panel
enclosure.
Install the ICP-MAP0055 expansion enclosure tamper switch in the ICP-MAP0120
expansion enclosure.
Installing the tamper switch onto the rail
4 Slide the extension piece of the tamper switch to position C as shown in the figure
below.
If a wall tamper plug was installed (refer to Mounting the enclosure, page 17), the position
of the expansion piece of the tamper switch must be chosen in a way that lifting the
enclosure off the wall by > 5 mm leads to reliable activation of the tamper switch.

Table of Contents

Related product manuals