EasyManua.ls Logo

Bosch PC600 - Page 24

Bosch PC600
88 pages
Print Icon
To Next Page IconTo Next Page
To Next Page IconTo Next Page
To Previous Page IconTo Previous Page
To Previous Page IconTo Previous Page
Loading...
Flexible Automation
Digital input modules
1-12
1070 072 144-101
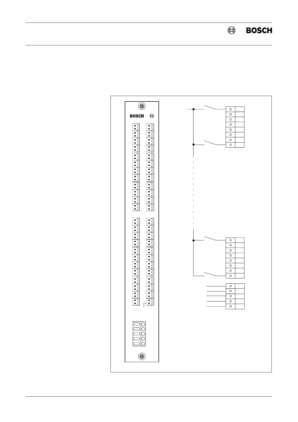
1.3 Input module E 24 V-, order no. 1070 071 252
0
1
2
3
4
5
6
7
0
1
2
3
4
5
6
7
24 V
24 V
24 V
0 V
0 V
.
.
.
.
.
.
.
.
.
.
.
.
0 V
0 V
24 V
E24V-
0
7
0
7
X
1
0
24 V
24 V
24 V
0 V
0 V
0
7
0
7
0
7
0
7
S
X
2
1
0
X
2
1
1
X
2
1
2
X
2
1
3
X
2
1
4
X
2
1
5
X
2
1
6
X
2
1
7
X
2
1
8
X
2
1
9
X
2
2
0
X
2
2
1
24 V
24 V
24 V
Fig. 1-13 Input module 1070 071 252, terminal assignment

Related product manuals